优酷申请这就是街舞战队名商标快报
TechWeb.com.cn
2021-09-10 15:17
导读
目前商标状态均为注册申请中,优酷信息技术(北京)有限公司申请注册这就是街舞第四季战队名商标,韩庚战队。
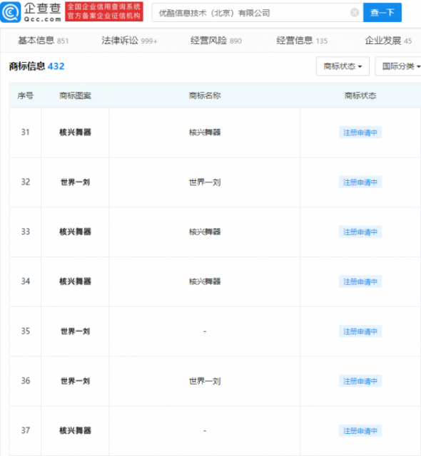
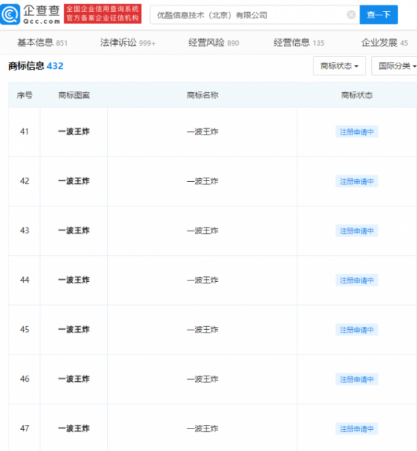
【TechWeb】企查查APP显示,近日,优酷信息技术(北京)有限公司申请注册这就是街舞第四季战队名商标,包括王一博战队“一波王炸”、张艺兴“核兴舞器”、刘宪华“世界一刘”商标。
目前商标状态均为注册申请中。此外,韩庚战队“态度大师”已由本人控股公司注册。



注册
申请
战队
商标
近日
1.TMT观察网遵循行业规范,任何转载的稿件都会明确标注作者和来源;
2.TMT观察网的原创文章,请转载时务必注明文章作者和"来源:TMT观察网",不尊重原创的行为TMT观察网或将追究责任;
3.作者投稿可能会经TMT观察网编辑修改或补充。
