无锡地铁集团增资至296.7亿 增幅约70%观点
观察君
2025-12-25 11:11
导读
天眼查App显示,近日,无锡地铁集团有限公司发生工商变更,注册资本由174.38亿人民币增至约296.7亿人民币,增幅约70%,同时,部分高管发生变更。
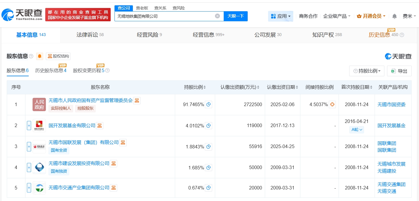
天眼查App显示,近日,无锡地铁集团有限公司发生工商变更,注册资本由174.38亿人民币增至约296.7亿人民币,增幅约70%,同时,部分高管发生变更。
该公司成立于2008年11月,法定代表人为张军,经营范围包括工程管理服务、国内贸易、利用自有资产对外投资等,由无锡市人民政府国有资产监督管理委员会、国开发展基金有限公司、无锡市国联发展(集团)有限公司等共同持股。



无锡地铁集团
1.TMT观察网遵循行业规范,任何转载的稿件都会明确标注作者和来源;
2.TMT观察网的原创文章,请转载时务必注明文章作者和"来源:TMT观察网",不尊重原创的行为TMT观察网或将追究责任;
3.作者投稿可能会经TMT观察网编辑修改或补充。
