揭秘被指引发充电宝大规模召回公司 安普瑞斯曾参与起草锂电池安全使用指南观点
观察君
2025-06-26 18:37
导读
今日,民航局发布紧急通知,自6月28日起禁止旅客携带没有3C标识、3C标识不清晰、被召回型号或批次的充电宝乘坐境内航班。
今日,民航局发布紧急通知,自6月28日起禁止旅客携带没有3C标识、3C标识不清晰、被召回型号或批次的充电宝乘坐境内航班。据界面新闻报道,近期,罗马仕、安克创新接连发布了充电宝产品的召回公告,至于召回原因,则来自供应链上游的电芯问题。一位深圳市市场监督管理局人士向记者确认,这次出问题的电芯供应商是安普瑞斯(无锡)有限公司。
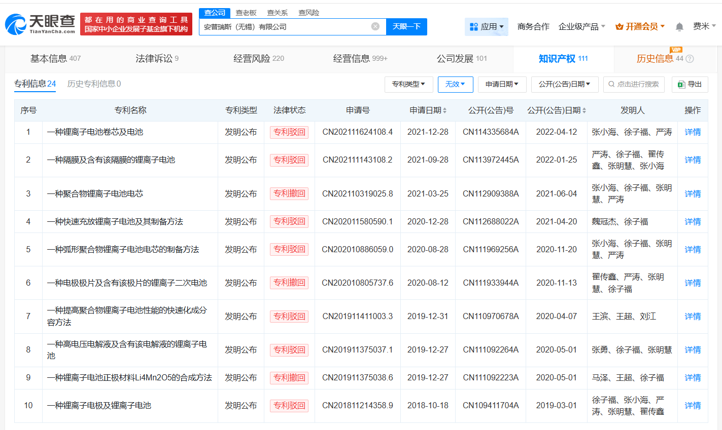
天眼查App显示,涉事公司安普瑞斯(无锡)有限公司成立于2014年11月,法定代表人为徐子福,注册资本8349万美元,经营范围包括电池系统管理软件技术的研发、提供新材料技术推广服务、经济贸易咨询等,由安普瑞斯有限公司、无锡产业发展集团有限公司共同持股。经营信息显示,该公司近70张3C认证资质证书均处于撤销或者暂停状态。另6月21日,安普瑞斯ISO(质量管理体系认证、环境管理体系认证、职业健康安全管理认证)被暂停。此外,该公司于2023年参与起草了锂离子电池和电池组安全使用指南标准文件,目前标准状态为已实施。知识产权信息显示,该公司的20余项电池相关专利处于被驳回状态。




充电宝
1.TMT观察网遵循行业规范,任何转载的稿件都会明确标注作者和来源;
2.TMT观察网的原创文章,请转载时务必注明文章作者和"来源:TMT观察网",不尊重原创的行为TMT观察网或将追究责任;
3.作者投稿可能会经TMT观察网编辑修改或补充。
