颜十六名下影业公司经营异常 颜十六仅存续公司经营异常观点
观察君
2025-01-14 16:54
导读
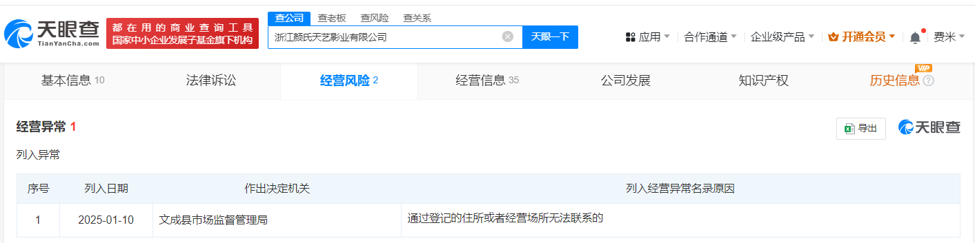
近日,因通过登记的住所或者经营场所无法联系,浙江颜氏天艺影业有限公司被文成县市场监督管理局列入经营异常名录。
天眼查天眼风险信息显示,近日,因通过登记的住所或者经营场所无法联系,浙江颜氏天艺影业有限公司被文成县市场监督管理局列入经营异常名录。
该公司成立于2018年3月,法定代表人为颜文磊(颜十六),注册资本1000万人民币,经营范围含演员经纪、电影摄制经营演出经纪业务、电影摄制等,由颜文磊全资持股。此前据媒体报道,有多位演艺圈从业者曾接到“颜十六”的拍戏邀约。其中,包括演员王星在内,至少已有4名演艺圈从业者被骗至泰国。
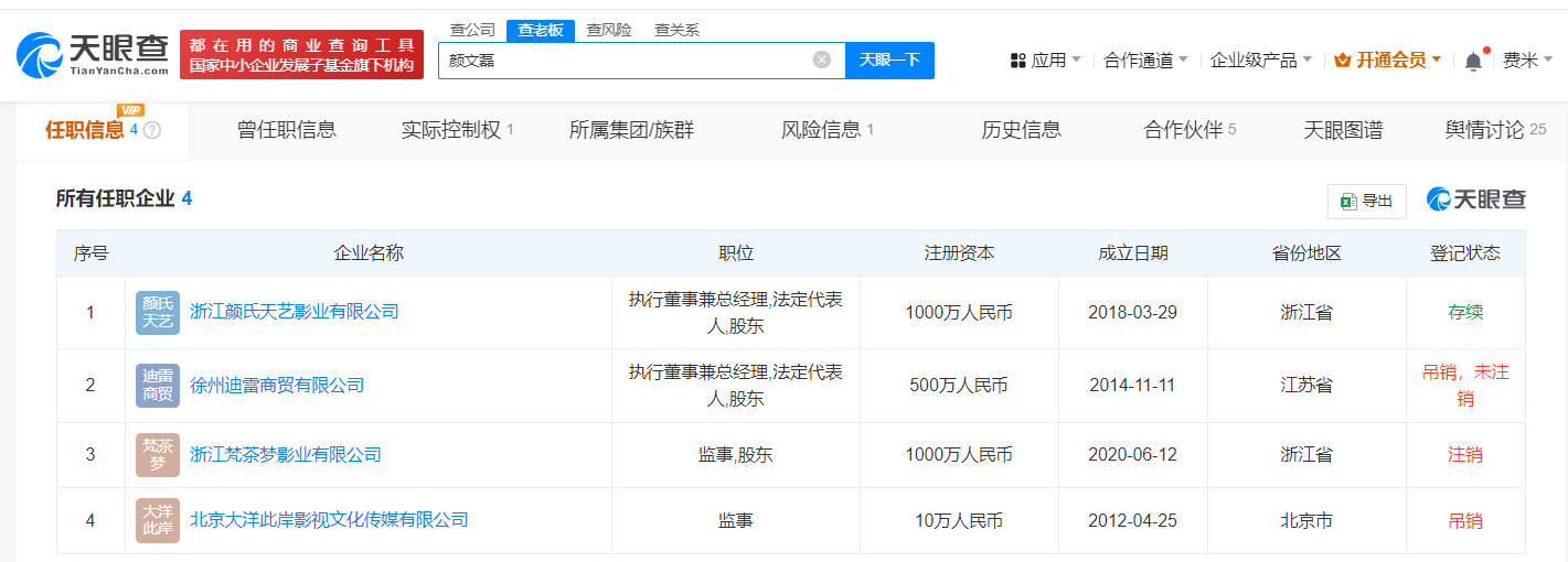
关联企业信息显示,颜文磊名下关联4家企业,仅上述公司为存续状态,其名下的徐州迪雷商贸有限公司、北京大洋此岸影视文化传媒有限公司处于吊销状态,浙江梵茶梦影业有限公司已注销。




颜十六
1.TMT观察网遵循行业规范,任何转载的稿件都会明确标注作者和来源;
2.TMT观察网的原创文章,请转载时务必注明文章作者和"来源:TMT观察网",不尊重原创的行为TMT观察网或将追究责任;
3.作者投稿可能会经TMT观察网编辑修改或补充。
