网易已注册燕云十六声商标 燕云十六声商标已被注册观点
观察君
2025-12-26 18:06
导读
据报道,近日,网易游戏《燕云十六声》新外观“飞白成诗”被多位玩家指出存在擦边问题,玩家指出,该服装设计存在大量裸露元素,存在擦边情况引起关注。
据报道,近日,网易游戏《燕云十六声》新外观“飞白成诗”被多位玩家指出存在擦边问题,玩家指出,该服装设计存在大量裸露元素,存在擦边情况引起关注。
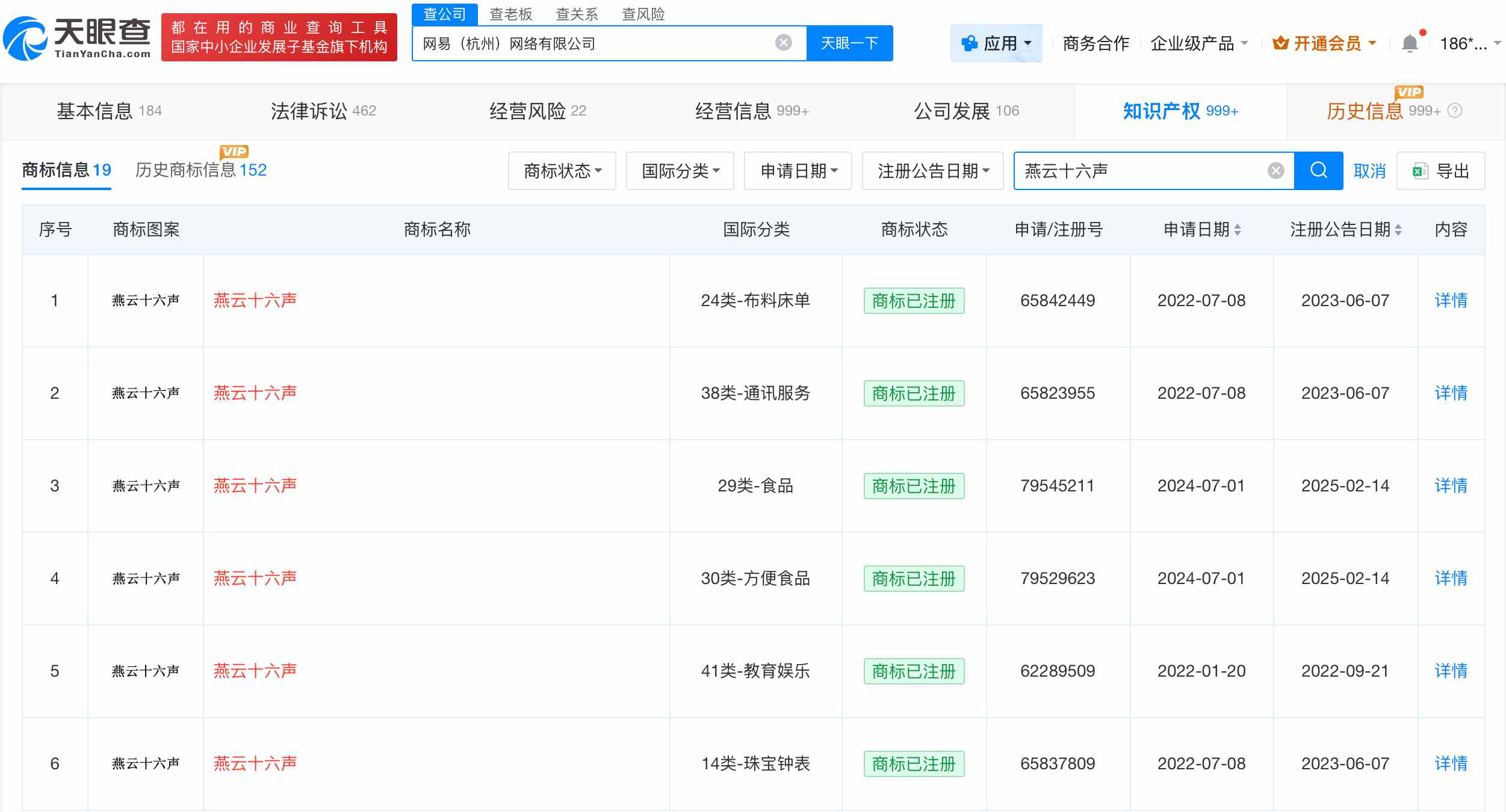
天眼查App显示,网易(杭州)网络有限公司已申请注册“燕云十六声”商标,国际分类涉及教育娱乐、方便食品等,当前商标均已成功注册。

燕云十六声
1.TMT观察网遵循行业规范,任何转载的稿件都会明确标注作者和来源;
2.TMT观察网的原创文章,请转载时务必注明文章作者和"来源:TMT观察网",不尊重原创的行为TMT观察网或将追究责任;
3.作者投稿可能会经TMT观察网编辑修改或补充。
