三星Note10渲染图曝光:S-Pen内竟暗藏摄像头快报
TechWeb.com.cn
2019-04-04 13:52
导读
一款被称为三星Note10的全新机型渲染图在网上曝光,全新的Note 10系列仍将配备S-Pen,该机将依旧采用开孔全面屏设计。
【TechWeb】在2月底结束的MWC大展上,三星推出了旗下开年旗舰Galaxy S10系列机型,并且以其较高的颜值和配置和更亲民的价格,相比此前的S9系列手机获得了更好的市场效果。现在有最新消息,下半年即将推出的Note系列新旗舰也开始陆续曝光了。

根据最新得到的消息,一款被称为三星Note10的全新机型渲染图在网上曝光。就曝光的渲染图所示,该机的外观基本延续了Note系列经典的硬朗风格,其他细节方面则与刚刚推出的S10系列在设计上并没有太大的不同。该机将依旧采用开孔全面屏设计,后置横排四摄,并采用渐变色机身。

除此之外,Note系列还有专属于其的一大亮点,就是S-Pen手写笔,全新的Note 10系列仍将配备S-Pen。在去年发布的Note 9上,三星已对S-Pen的功能进行了全面升级与拓展,而全新的Note 10系列的手写笔将更进一步。
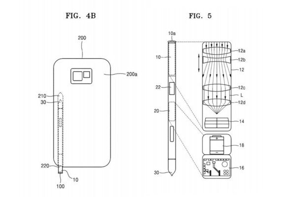
据相关专利图显示,新一代三星S-Pen将内置摄像头,并将支持光学防抖和变焦,不过这一设计的真实性和实用性还有待考证。
目前距离新一代Note旗舰的发布还有较长一段时间,更多详细信息,我们拭目以待。
Note
三星
推出
S-Pen
设计
1.TMT观察网遵循行业规范,任何转载的稿件都会明确标注作者和来源;
2.TMT观察网的原创文章,请转载时务必注明文章作者和"来源:TMT观察网",不尊重原创的行为TMT观察网或将追究责任;
3.作者投稿可能会经TMT观察网编辑修改或补充。
