广汽华为合作公司申请广为商标 广汽华为合作公司申请多枚新商标观点
观察君
2025-06-19 11:57
导读
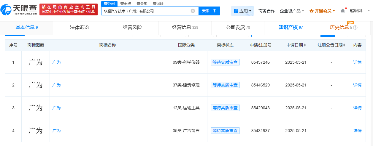
天眼查App显示,近日,华望汽车技术(广州)有限公司申请注册多枚“广为”“启境”“至境”“元方”等商标,国际分类涉及运输工具、科学仪器、广告销售等。
天眼查App显示,近日,华望汽车技术(广州)有限公司申请注册多枚“广为”“启境”“至境”“元方”等商标,国际分类涉及运输工具、科学仪器、广告销售等。
华望汽车技术(广州)有限公司成立于今年3月,法定代表人为閤先庆,注册资本15亿人民币,由广汽集团(601238)全资持股。据报道,该公司为广汽集团与华为合作公司,近日开启大规模招聘。


广汽
华为
1.TMT观察网遵循行业规范,任何转载的稿件都会明确标注作者和来源;
2.TMT观察网的原创文章,请转载时务必注明文章作者和"来源:TMT观察网",不尊重原创的行为TMT观察网或将追究责任;
3.作者投稿可能会经TMT观察网编辑修改或补充。
