赛力斯申请问界官方认证二手车商标观点
观察君
2025-07-17 22:42
导读
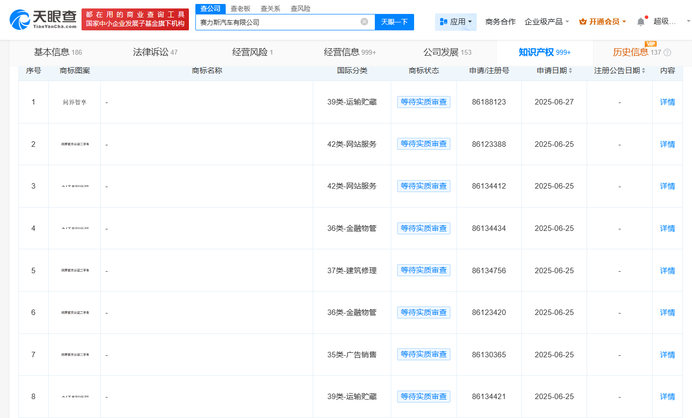
天眼查知识产权信息显示,近日,赛力斯汽车有限公司申请注册多枚“问界官方认证二手车”“AITO 官方认证二手车”商标,国际分类涉及广告销售、金融物管、网站服务等,当前商标状态为等待实质审查。
天眼查知识产权信息显示,近日,赛力斯汽车有限公司申请注册多枚“问界官方认证二手车”“AITO 官方认证二手车”商标,国际分类涉及广告销售、金融物管、网站服务等,当前商标状态为等待实质审查。
赛力斯汽车有限公司成立于2012年9月,法定代表人为岑远川,注册资本约106亿人民币,经营范围包括研发、生产、销售新能源汽车及其零部件等,由赛力斯(601127)、国开制造业转型升级基金(有限合伙)等共同持股。



赛力斯
1.TMT观察网遵循行业规范,任何转载的稿件都会明确标注作者和来源;
2.TMT观察网的原创文章,请转载时务必注明文章作者和"来源:TMT观察网",不尊重原创的行为TMT观察网或将追究责任;
3.作者投稿可能会经TMT观察网编辑修改或补充。
