跑路90多户业主公司已经营异常 跑路90多户业主公司涉多个合同纠纷观点
观察君
2024-09-10 17:57
导读
据报道,9月9日,湖北武汉不少消费者反映,他们找的一家装修公司突然关门了,导致90多户人家里的装修成了“半拉子”工程。
据报道,9月9日,湖北武汉不少消费者反映,他们找的一家装修公司突然关门了,导致90多户人家里的装修成了“半拉子”工程。
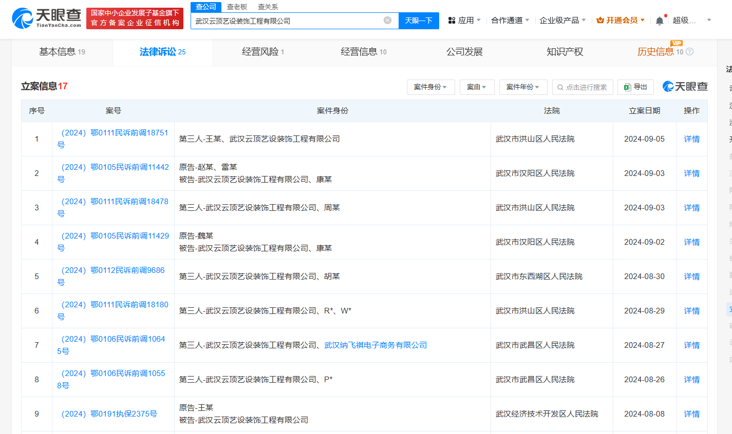
天眼查App显示,涉事公司武汉云顶艺设装饰工程有限公司成立于2022年3月,法定代表人、执行董事、经理兼财务负责人为康剑,注册资本100万人民币,经营范围包括建设工程设计、住宅室内装饰装修、专业设计服务、建筑材料销售等,由康剑全资持股。风险信息显示,近日,该公司因通过登记的住所或者经营场所无法联系,被武汉市武昌区市场监督管理局列入经营异常名录。立案信息显示,近期,该公司新增多个装饰装修合同纠纷、买卖合同纠纷等案件。




装修公司
关门
1.TMT观察网遵循行业规范,任何转载的稿件都会明确标注作者和来源;
2.TMT观察网的原创文章,请转载时务必注明文章作者和"来源:TMT观察网",不尊重原创的行为TMT观察网或将追究责任;
3.作者投稿可能会经TMT观察网编辑修改或补充。
