北大网红刘光耀被其前妻申请限消 北大网红刘光耀因470元案款被限消观点
观察君
2025-12-08 16:26
导读
近日,伯喜(北京)文化传媒有限公司及其法定代表人刘光耀新增一则消费令,涉及股东知情权纠纷案件,申请人为刘光耀前妻安吉,执行法院为北京市朝阳区人民法院。案件流程信息显示,此前,该公司已因此案被执行470元。
天眼查法律诉讼信息显示,近日,伯喜(北京)文化传媒有限公司及其法定代表人刘光耀新增一则消费令,涉及股东知情权纠纷案件,申请人为刘光耀前妻安吉,执行法院为北京市朝阳区人民法院。案件流程信息显示,此前,该公司已因此案被执行470元。
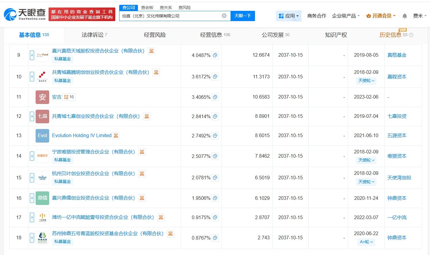
伯喜(北京)文化传媒有限公司成立于2017年10月,注册资本约313万人民币,经营范围包括组织文化艺术交流活动、文艺创作、企业策划等,由刘光耀、YSC Bosie(HK)Limited、安吉等共同持股,其中安吉持股比例约3.4%。




刘光耀
1.TMT观察网遵循行业规范,任何转载的稿件都会明确标注作者和来源;
2.TMT观察网的原创文章,请转载时务必注明文章作者和"来源:TMT观察网",不尊重原创的行为TMT观察网或将追究责任;
3.作者投稿可能会经TMT观察网编辑修改或补充。
