华谊兄弟申请注册短剧厂牌商标 华谊兄弟申请华谊兄弟火剧商标观点
观察君
2024-12-24 15:19
导读
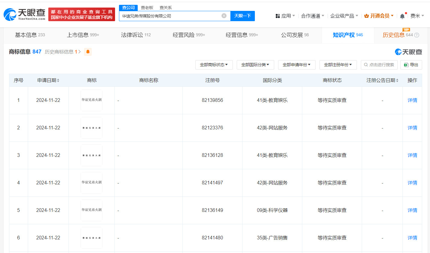
近日,华谊兄弟(300027)申请注册多枚“华谊兄弟火剧”商标,国际分类包含教育娱乐、网站服务、科学仪器等,当前商标状态均为等待实质审查。
天眼查知识产权信息显示,近日,华谊兄弟(300027)申请注册多枚“华谊兄弟火剧”商标,国际分类包含教育娱乐、网站服务、科学仪器等,当前商标状态均为等待实质审查。
据媒体报道,今年8月,华谊兄弟在杭州余杭举办的首届微短剧产业大会上宣布,公司将拓展至微短剧领域,推出短剧厂牌“华谊兄弟火剧”。据悉,“华谊兄弟火剧”在内容生产上引入AI技术,部分场景也由AI生成。


华谊兄弟
1.TMT观察网遵循行业规范,任何转载的稿件都会明确标注作者和来源;
2.TMT观察网的原创文章,请转载时务必注明文章作者和"来源:TMT观察网",不尊重原创的行为TMT观察网或将追究责任;
3.作者投稿可能会经TMT观察网编辑修改或补充。
