东方集团所持2650万股权被冻结观点
观察君
2024-09-27 18:50
导读
近日,东方集团(600811)新增一则股权冻结信息,股权被执行的企业为东方海钾(厦门)海洋科技有限公司,冻结股权数额2650万人民币,冻结期限自2024年9月23日至2025年9月22日,执行法院为哈尔滨市中级人民法院。
天眼查法律诉讼信息显示,近日,东方集团(600811)新增一则股权冻结信息,股权被执行的企业为东方海钾(厦门)海洋科技有限公司,冻结股权数额2650万人民币,冻结期限自2024年9月23日至2025年9月22日,执行法院为哈尔滨市中级人民法院。
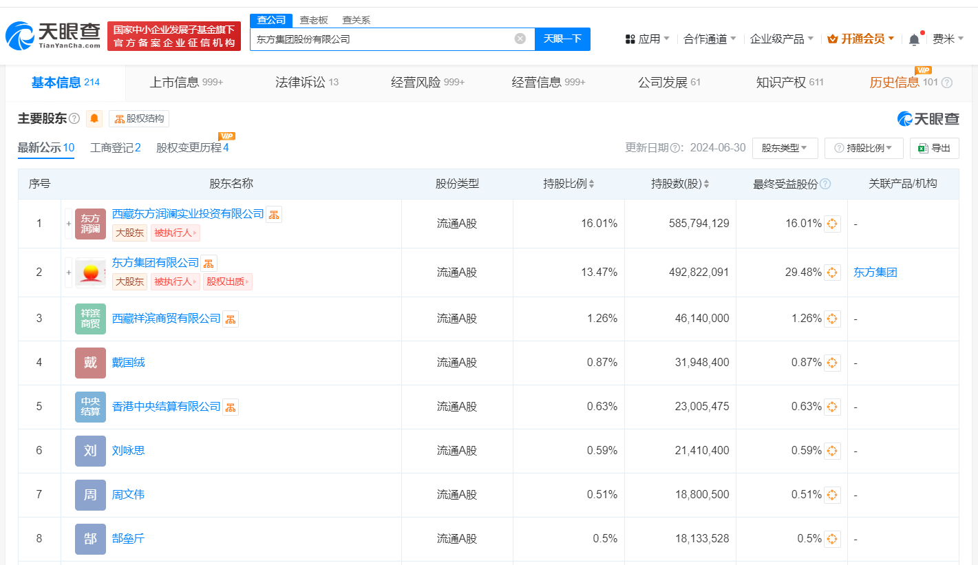
东方集团股份有限公司成立于1989年8月,法定代表人为孙明涛,注册资本约36.6亿人民币,经营范围含食品生产、粮食加工食品生产、豆制品制造等。股东信息显示,该公司由西藏东方润澜实业投资有限公司、东方集团有限公司、西藏祥滨商贸有限公司等共同持股。



东方集团
2650万股权
1.TMT观察网遵循行业规范,任何转载的稿件都会明确标注作者和来源;
2.TMT观察网的原创文章,请转载时务必注明文章作者和"来源:TMT观察网",不尊重原创的行为TMT观察网或将追究责任;
3.作者投稿可能会经TMT观察网编辑修改或补充。
