小米申请雷军超大杯商标快报
TechWeb.com.cn
2021-07-21 18:22
导读
目前商标状态为注册申请中,小米科技有限责任公司申请注册,雷军曾发起投票。
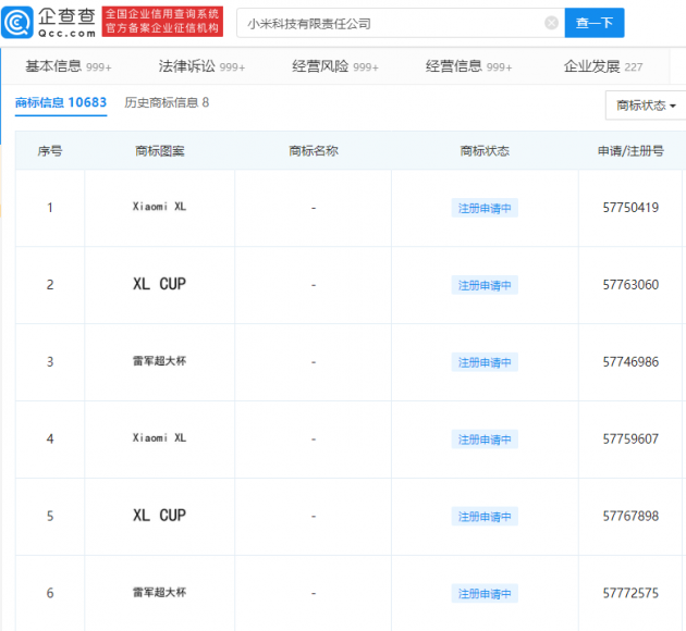
【TechWeb】企查查APP显示,近日,小米科技有限责任公司申请注册“雷军超大杯”商标,国际分类涉25类 服装鞋帽、16类 办公用品等,目前商标状态为注册申请中。
据悉,雷军曾发起投票:小米11超大杯建议叫什么?


雷军
小米
申请
注册
商标
1.TMT观察网遵循行业规范,任何转载的稿件都会明确标注作者和来源;
2.TMT观察网的原创文章,请转载时务必注明文章作者和"来源:TMT观察网",不尊重原创的行为TMT观察网或将追究责任;
3.作者投稿可能会经TMT观察网编辑修改或补充。
