科沃斯新增经营范围集成电路芯片及产品销售快讯
TechWeb.com.cn
2021-12-24 16:44
导读
消毒器械销售,科沃斯成立于1998年,科沃斯(603486)发生工商变更。
【TechWeb】12月24日,企查查APP显示,12月23日,科沃斯(603486)发生工商变更,公司经营范围新增消毒器械生产;消毒器械销售;集成电路芯片及产品销售等。
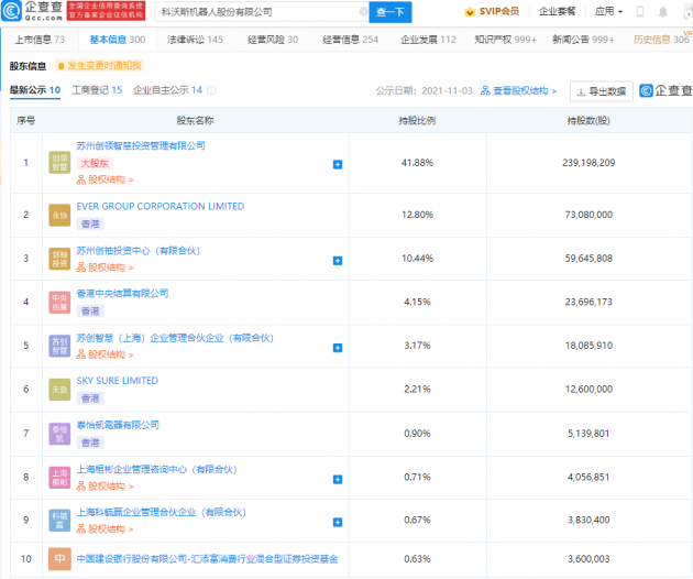
企查查信息显示,科沃斯成立于1998年,法定代表人为庄建华,注册资本5.72亿元人民币,其大股东为苏州创领智慧投资管理有限公司,持股41.88%。



沃斯
显示
查查
销售
智慧
1.TMT观察网遵循行业规范,任何转载的稿件都会明确标注作者和来源;
2.TMT观察网的原创文章,请转载时务必注明文章作者和"来源:TMT观察网",不尊重原创的行为TMT观察网或将追究责任;
3.作者投稿可能会经TMT观察网编辑修改或补充。
