罗马仕多个3C认证已被暂停或撤销 多家公司近期发生变更观点
观察君
2025-07-08 10:19
导读
据报道,7月7日,网友发布办公室监控画面称,一罗马仕充电宝突发爆炸。目击者告诉记者称,充电宝是同事去年买的,不是召回型号,“充电时突然有响声,起火后烟很大。”
据报道,7月7日,网友发布办公室监控画面称,一罗马仕充电宝突发爆炸。目击者告诉记者称,充电宝是同事去年买的,不是召回型号,“充电时突然有响声,起火后烟很大。”
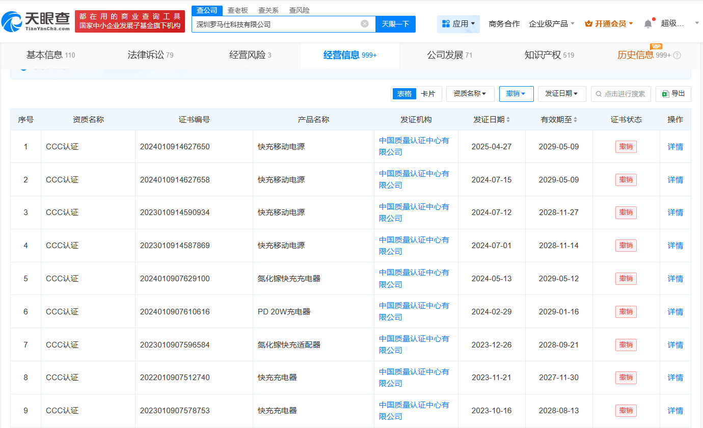
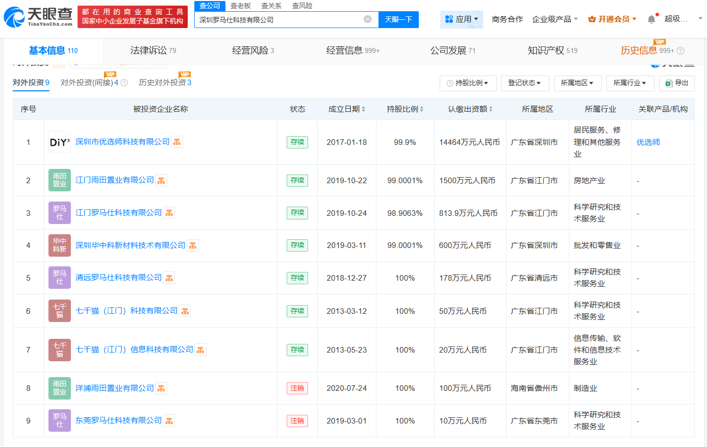
天眼查App显示,深圳罗马仕科技有限公司成立于2012年3月,法定代表人为雷社杏,注册资本600万人民币,经营范围包括信息技术咨询,集成电路设计、研发等,由雷桂斌、雷灿伙共同持股。对外投资信息显示,该公司持有7家存续企业股份。经营信息显示,该公司多个“CCC认证”证书处于暂停或撤销状态。
值得注意的是,近日,该公司法定代表人、董事、经理两次发生变更。此外,该公司旗下的清远罗马仕科技有限公司、深圳市优选师科技有限公司、深圳华中科新材料技术有限公司、江门雨田置业有限公司、江门惠比寿电子科技有限公司的法定代表人及高管均于近期发生变更。





罗马仕
3C认证
1.TMT观察网遵循行业规范,任何转载的稿件都会明确标注作者和来源;
2.TMT观察网的原创文章,请转载时务必注明文章作者和"来源:TMT观察网",不尊重原创的行为TMT观察网或将追究责任;
3.作者投稿可能会经TMT观察网编辑修改或补充。
