罗马仕近期被罚没124万 罗马仕所持多家公司股权被冻结观点
观察君
2026-01-27 22:46
导读
据媒体报道,记者从市场监管总局召开的2025年综合整治“内卷式”竞争十大重大案件发布会上了解到,全国市场监管部门共查处充电宝相关违法案件1169件,守牢产品质量安全底线。其中,深圳罗马仕科技有限公司违反强制性认证规定及虚假宣传较为典型。
据媒体报道,记者从市场监管总局召开的2025年综合整治“内卷式”竞争十大重大案件发布会上了解到,全国市场监管部门共查处充电宝相关违法案件1169件,守牢产品质量安全底线。其中,深圳罗马仕科技有限公司违反强制性认证规定及虚假宣传较为典型。
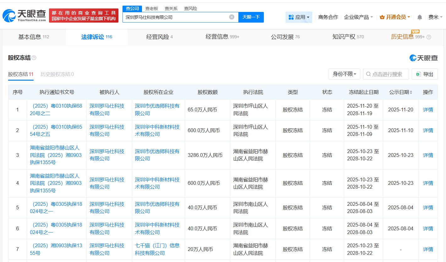
天眼查工商信息显示,深圳罗马仕科技有限公司成立于2012年3月,法定代表人为雷社杏,注册资本600万人民币,经营范围包括国内贸易、经营进出口业务、服装的设计及销售等。股东信息显示,该公司由雷桂斌、雷灿伙共同持股。天眼风险信息显示,去年12月,该公司曾因违反强制认证规定、虚假宣传,被深圳市市场监督管理局南山监管局没收违法所得1.2万余元、罚款123万元。此外,该公司旗下多家公司股权被冻结,包括深圳市优选师科技有限公司、深圳华中科新材料技术有限公司等。




罗马仕
1.TMT观察网遵循行业规范,任何转载的稿件都会明确标注作者和来源;
2.TMT观察网的原创文章,请转载时务必注明文章作者和"来源:TMT观察网",不尊重原创的行为TMT观察网或将追究责任;
3.作者投稿可能会经TMT观察网编辑修改或补充。
