汉堡王曾被抽检出问题待后续处理 汉堡王商业版图盘点观点
观察君
2024-11-21 23:14
导读
近期,接到多位加盟商联合爆料,汉堡王方面与加盟商签订“霸王条款”,投资者巨额亏损导致血本无归,相关话题引发热议。有投资者称,“投资300万开汉堡王加盟店,一年后血本无归,汉堡王害得我倾家荡产。”
近期,接到多位加盟商联合爆料,汉堡王方面与加盟商签订“霸王条款”,投资者巨额亏损导致血本无归,相关话题引发热议。有投资者称,“投资300万开汉堡王加盟店,一年后血本无归,汉堡王害得我倾家荡产。”
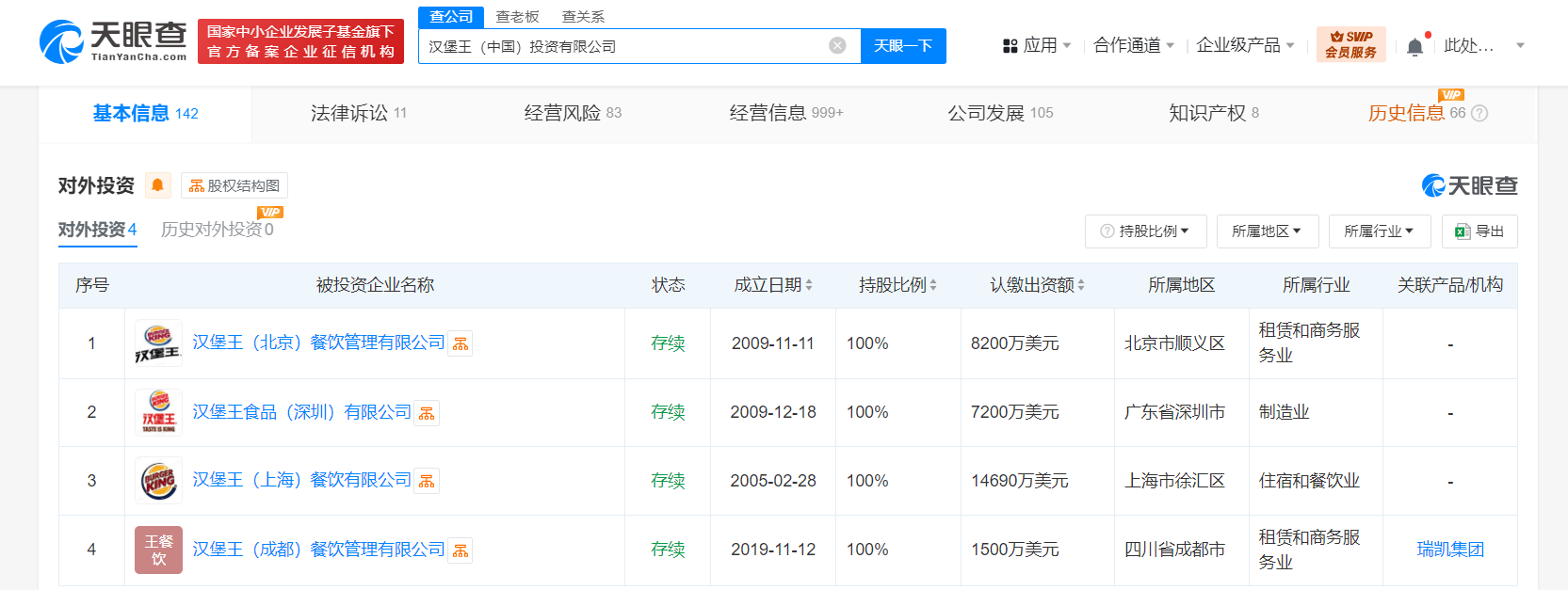
天眼查App显示,汉堡王关联公司汉堡王(中国)投资有限公司成立于2013年9月,法定代表人为ATAKAN BOZKURT,注册资本约3.1亿美元,由BK (Hong Kong) Development Co., Limited全资持股。对外投资信息显示,该公司直接持股4家企业,均为存续状态,包括汉堡王(北京)餐饮管理有限公司、汉堡王食品(深圳)有限公司、汉堡王(上海)餐饮有限公司、汉堡王(成都)餐饮管理有限公司。分支机构信息显示,上述4家公司均有超1700家分支机构,其中大多为存续状态。值得注意的是,2023年6月,在徐汇区商务委的抽查检查中,该公司检查结果为发现问题待后续处理。




汉堡王
加盟商
1.TMT观察网遵循行业规范,任何转载的稿件都会明确标注作者和来源;
2.TMT观察网的原创文章,请转载时务必注明文章作者和"来源:TMT观察网",不尊重原创的行为TMT观察网或将追究责任;
3.作者投稿可能会经TMT观察网编辑修改或补充。
