杉杉集团所持35.7亿股权被冻结观点
观察君
2024-09-30 17:21
导读
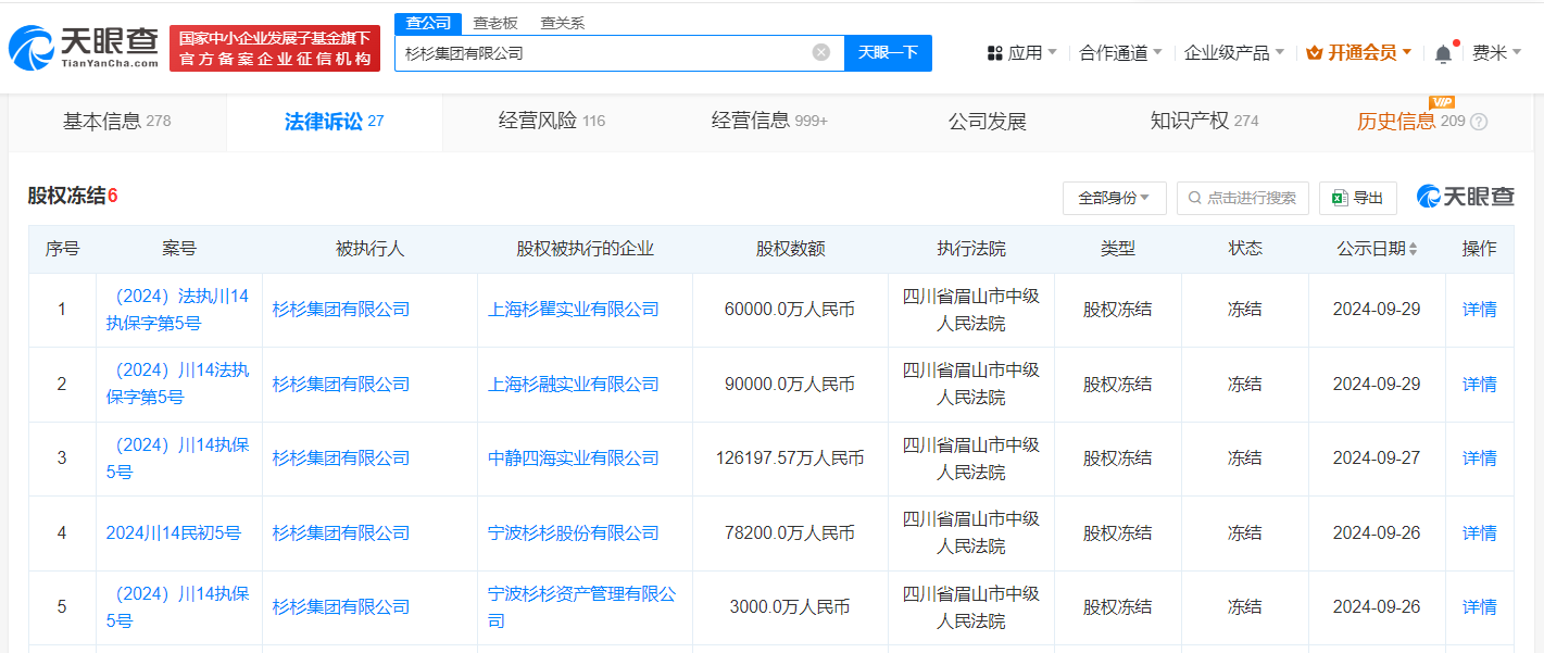
近日,杉杉集团有限公司新增5条股权冻结信息,冻结股权数额总计35.7亿余元。
天眼查法律诉讼信息显示,近日,杉杉集团有限公司新增5条股权冻结信息,冻结股权数额总计35.7亿余元,股权被执行的企业分别为上海杉瞿实业有限公司、上海杉融实业有限公司、中静四海实业有限公司、杉杉股份(600884)、宁波杉杉资产管理有限公司,冻结期限均为3年,执行法院均为四川省眉山市中级人民法院。
杉杉集团有限公司成立于1994年6月,法定代表人为周敏,注册资本约3亿人民币,经营范围含服装制造、服装服饰批发、鞋帽批发、鞋帽零售、五金产品批发、五金产品零售等,由宁波市鄞州区堇元股权投资合伙企业(有限合伙)、伊藤忠(商事)株式会社、张家港市悦丰金创投资有限公司等共同持股。



杉杉集团
35.7亿股权
1.TMT观察网遵循行业规范,任何转载的稿件都会明确标注作者和来源;
2.TMT观察网的原创文章,请转载时务必注明文章作者和"来源:TMT观察网",不尊重原创的行为TMT观察网或将追究责任;
3.作者投稿可能会经TMT观察网编辑修改或补充。
