揭秘被举报代孕后又涉嫌重操旧业医院 涉嫌再度代孕医院曾因过度诊疗被罚观点
观察君
2025-03-18 15:43
导读
据媒体报道,3月初,江苏宜兴的黄某期去给儿子办户口,但辖区派出所却发现孩子的医学出生证明真假难辨。因为出生证明上盖有“武冈市都梁医院”的公章,派出所于是发函请求湖南武冈市卫健局协查。卫健部门调查证实,这份医学证明是假的。
据媒体报道,3月初,江苏宜兴的黄某期去给儿子办户口,但辖区派出所却发现孩子的医学出生证明真假难辨。因为出生证明上盖有“武冈市都梁医院”的公章,派出所于是发函请求湖南武冈市卫健局协查。卫健部门调查证实,这份医学证明是假的。
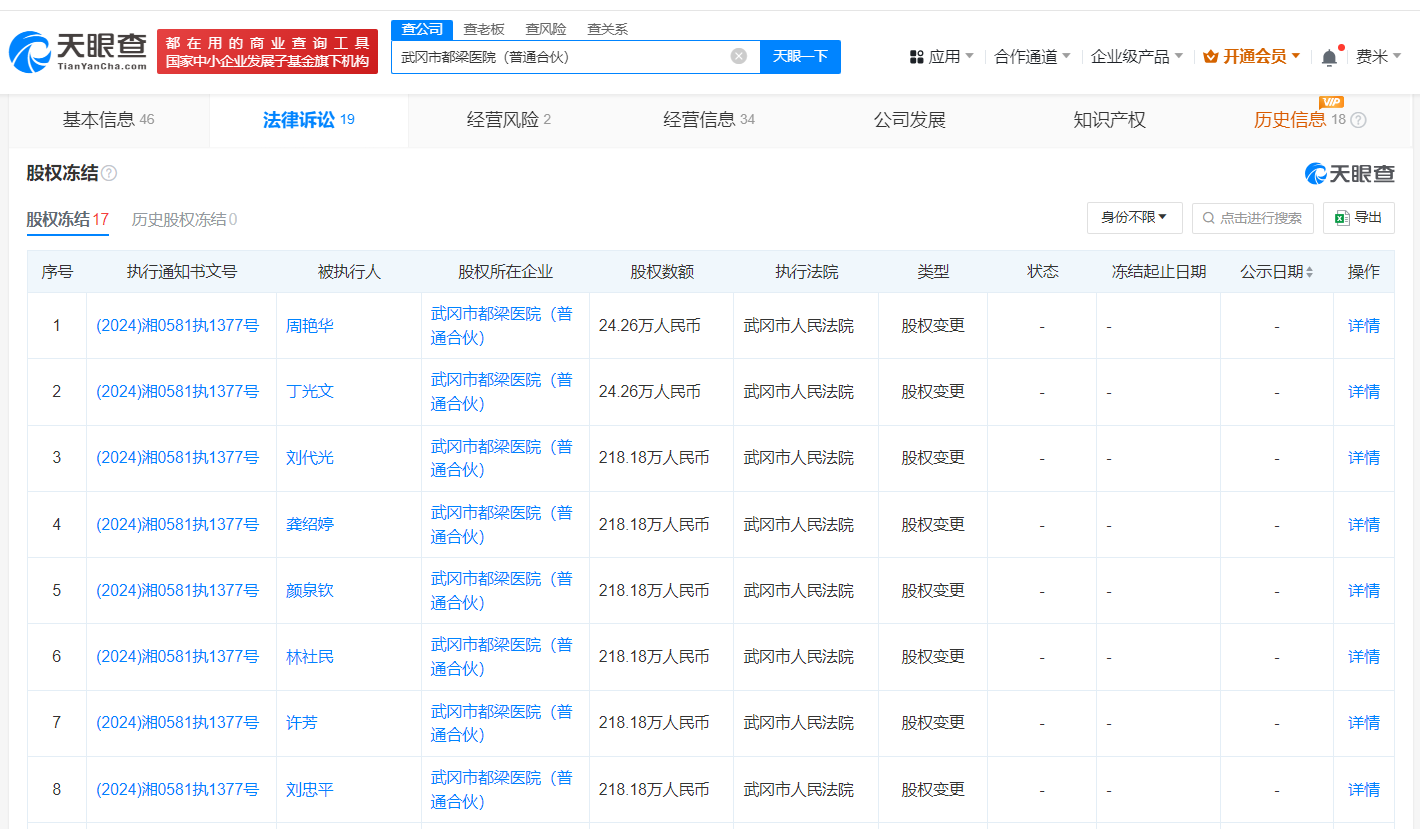
天眼查App显示,涉事医院武冈市都梁医院(普通合伙)成立于2016年7月,执行事务合伙人为黄河,出资额8381万人民币,经营范围为预防保健科、内科、外科、妇女科、儿科、眼科、口腔科、医学检验科、医学影像科,由邓吉军、黄河、黄海等共同出资。经营风险信息显示,该医院于去年1月和10月,因未按标签标示贮存医疗器械和过度诊疗行为被邵阳市武冈市医疗保障局合计罚款19万余元。此外,该公司现存多条股权冻结信息。




代孕
1.TMT观察网遵循行业规范,任何转载的稿件都会明确标注作者和来源;
2.TMT观察网的原创文章,请转载时务必注明文章作者和"来源:TMT观察网",不尊重原创的行为TMT观察网或将追究责任;
3.作者投稿可能会经TMT观察网编辑修改或补充。
