爱奇艺CEO名下多家企业已吊注销 爱奇艺CEO商业版图盘点观点
观察君
2026-04-21 16:37
导读
据媒体报道,4月21日,针对近期AI艺人库引发的争议,爱奇艺CEO龚宇发文进行回应,相关话题引发热议。
据媒体报道,4月21日,针对近期AI艺人库引发的争议,爱奇艺CEO龚宇发文进行回应,相关话题引发热议。
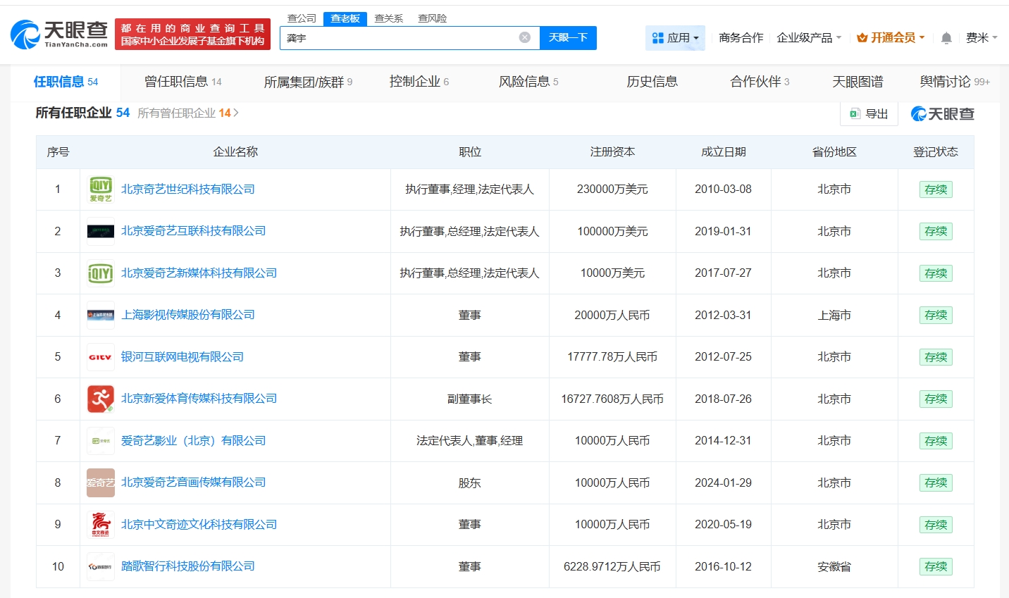
天眼查App显示,龚宇名下关联50余家企业,其中30余家企业处于存续或者开业状态,包括北京奇艺世纪科技有限公司、北京爱奇艺互联科技有限公司等,龚宇在上述企业担任执行董事、经理等职务,其他10余家企业处于被吊销或者注销状态。

爱奇艺
1.TMT观察网遵循行业规范,任何转载的稿件都会明确标注作者和来源;
2.TMT观察网的原创文章,请转载时务必注明文章作者和"来源:TMT观察网",不尊重原创的行为TMT观察网或将追究责任;
3.作者投稿可能会经TMT观察网编辑修改或补充。
