钟薛高及其子公司被强执109万 钟薛高累计被执行超千万观点
观察君
2024-10-24 18:02
导读
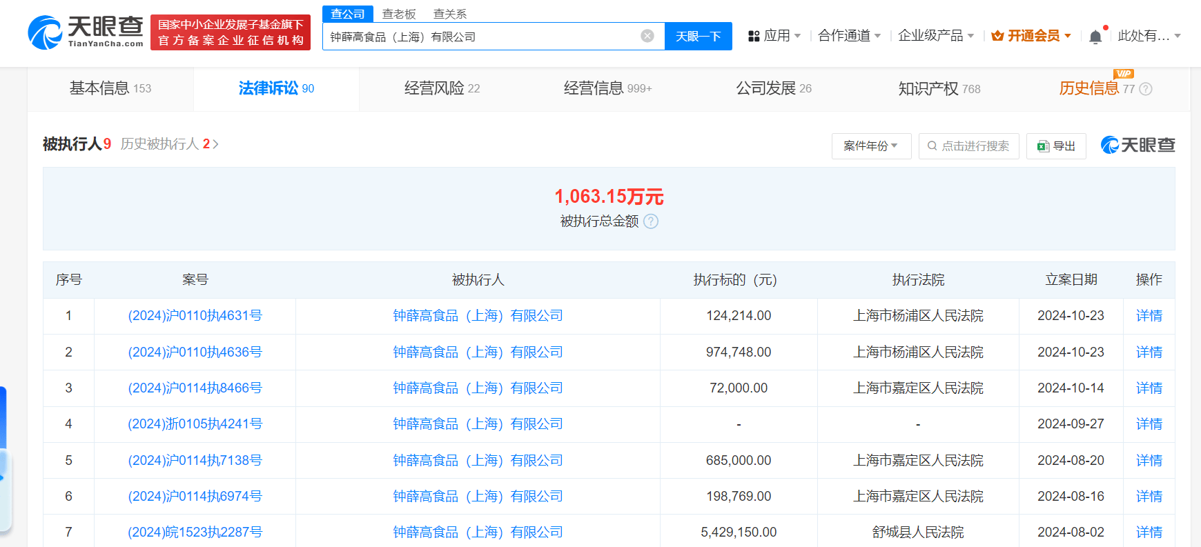
天眼查法律诉讼信息显示,近日,钟薛高食品(上海)有限公司及其子公司钟茂(上海)食品科技有限公司新增2条被执行人信息,执行标的合计109.89万余元,涉及服务合同纠纷、买卖合同纠纷案件,执行法院为上海市杨浦区人民法院。
天眼查法律诉讼信息显示,近日,钟薛高食品(上海)有限公司及其子公司钟茂(上海)食品科技有限公司新增2条被执行人信息,执行标的合计109.89万余元,涉及服务合同纠纷、买卖合同纠纷案件,执行法院为上海市杨浦区人民法院。
钟薛高食品(上海)有限公司成立于2018年3月,法定代表人为林盛,注册资本约12.03亿人民币,由Gloryseed HK Limited全资持股。风险信息显示,该公司现存9条被执行人信息,被执行总金额超1063万元,此外还存在多条限制消费令及股权冻结信息。


钟薛高
纠纷
1.TMT观察网遵循行业规范,任何转载的稿件都会明确标注作者和来源;
2.TMT观察网的原创文章,请转载时务必注明文章作者和"来源:TMT观察网",不尊重原创的行为TMT观察网或将追究责任;
3.作者投稿可能会经TMT观察网编辑修改或补充。
