天眼查数据:起底外泌体涉事公司灏麟生物观点
观察君
2026-03-15 23:27
导读
央视315晚会曝光“万能”的外泌体问题,灏麟(天津)生物科技有限公司被点名。
央视315晚会曝光“万能”的外泌体问题,灏麟(天津)生物科技有限公司被点名。
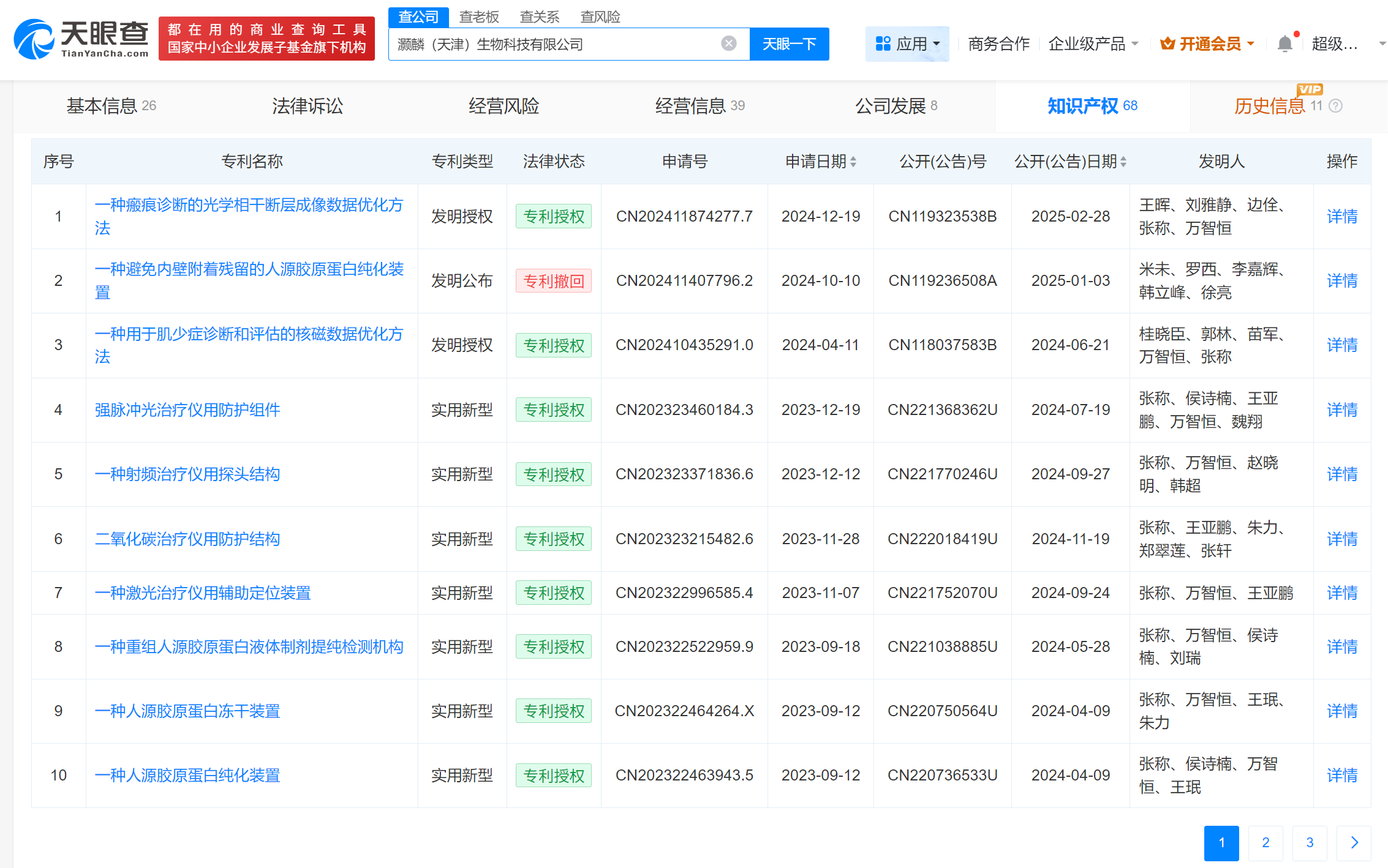
天眼查App显示,灏麟(天津)生物科技有限公司成立于2019年6月,法定代表人为张称,注册资本1000万人民币,经营范围包括人体干细胞技术开发和应用、人体基因诊断与治疗技术开发、细胞技术研发和应用等,由万智恒、张称共同持股。对外投资显示,该公司对外投资3家企业,分别为灏麟生物医药(天津)有限公司、灏麟(北京)医学技术有限公司、天津鹊名生物医学工程研究有限责任公司。知识产权信息显示,该公司已申请多个“一种人源胶原蛋白冻干装置”“一种用于肌少症诊断和评估的核磁数据优化方法”等相关专利。




外泌体
1.TMT观察网遵循行业规范,任何转载的稿件都会明确标注作者和来源;
2.TMT观察网的原创文章,请转载时务必注明文章作者和"来源:TMT观察网",不尊重原创的行为TMT观察网或将追究责任;
3.作者投稿可能会经TMT观察网编辑修改或补充。
