用上磁悬浮技术 奔驰公布新专利:用“球”就可控制信息娱乐系统快讯
快科技
2021-11-12 16:44
导读
这是一个用来控制车辆功能的控制装置,与车内同样散发蓝光的氛围灯相映成趣,奔驰的这项专利。
汽车工业发展到今天,已不再仅仅局限于交通工具的基础功能,如何打造未来移动起居室,成为了各大厂商思考的一个新话题。
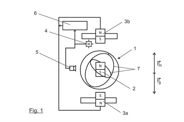
近日,梅赛德斯-奔驰向世界知识产权局申请了一项新专利,公开信息显示,这是一个用来控制车辆功能的控制装置,可由驾驶员主动启动并操作。

最为让人称奇的是,控制装置并非被固定安置在某个部位,而是采用了磁悬浮技术,形似一颗浮空的魔法“水晶球”。
从官方公开的渲染图看,散发着蓝盈盈光芒的“水晶球”静静地悬浮在扶手箱前,与车内同样散发蓝光的氛围灯相映成趣,营造了一种来自未来的科幻感。

光是好看肯定不行,这颗“水晶球”还集成了实用功能。
使用它可以控制信息娱乐系统,由于是悬浮状态,你可以往任意角度去滚动它,同时还可以按压、推拉等,以实现类似触控屏上的“滑动”“点击”等操作。

当然了,申请新的专利并不意味这它一定能够投产使用。
奔驰申请的“水晶球”专利就存在诸多尚未验证的问题,比如说要想让它漂浮在空中,需要足够强的磁力,这会不会对车内精密的零部件产生负面影响?
又比如在车辆急加速或者急刹车时,又该如何保证它不会脱离磁力限制,向前或向后飞出去,带来安全隐患?
综合来看,奔驰的这项专利,其实更像是一种探索和炫技,离真正量产尚有不小的差距。
专利
水晶球
申请
控制
功能
1.TMT观察网遵循行业规范,任何转载的稿件都会明确标注作者和来源;
2.TMT观察网的原创文章,请转载时务必注明文章作者和"来源:TMT观察网",不尊重原创的行为TMT观察网或将追究责任;
3.作者投稿可能会经TMT观察网编辑修改或补充。
