汇源果汁累计被执行金额超30亿快报
TechWeb.com.cn
2021-10-12 14:47
导读
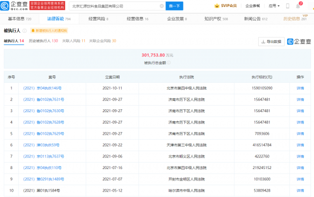
目前该公司共有多条被执行人信息,汇源果汁关联公司北京汇源饮料食品集团有限公司新增被执行人信息,企查查显示。
【TechWeb】企查查APP显示,近日,汇源果汁关联公司北京汇源饮料食品集团有限公司新增被执行人信息,执行标的1590105090元,执行法院为北京市第四中级人民法院。
企查查显示,目前该公司共有多条被执行人信息,被执行总金额超30亿元人民币。


执行
显示
公司
查查
汇源
1.TMT观察网遵循行业规范,任何转载的稿件都会明确标注作者和来源;
2.TMT观察网的原创文章,请转载时务必注明文章作者和"来源:TMT观察网",不尊重原创的行为TMT观察网或将追究责任;
3.作者投稿可能会经TMT观察网编辑修改或补充。
