赵薇夫妇遭知名金融机构起诉,前者名下多家公司股权被冻结快报
该案被告为赵薇、合宝文娱集团有限公司,赵薇持股比例达90%,赵薇名下还有多家公司股权被冻结。
【TechWeb】深陷舆论风波的赵薇,以被告身份再次出现在公众视野。
企查查APP显示,近日,中国民生信托有限公司(简称民生信托)新增开庭公告。中国民生信托有限公司与史玉柱,赵薇,黄有龙保证合同纠纷的案件将于2022年11月8日开庭,案号(2021)京04民初989号,原告为中国民生信托有限公司,被告赵薇,黄有龙(赵薇丈夫)以及巨人网络史玉柱,案由为保证合同纠纷。

据官网显示,民生信托为泛海集团旗下投资机构,前身为中国旅游国际信托投资有限公司,企查查APP显示,该公司注册资本70亿元,控股股东为武汉中央商务区股份有限公司。
此外,值得一提的是,企查查APP显示,今年6月11日,民生信托起诉赵薇一案,已于北京市第二中级人民法院第45法庭开庭审理。该案被告为赵薇、合宝文娱集团有限公司,案由同样为保证合同纠纷。在此案司法协助信息中,赵薇持有合宝文娱4.15%的股权被冻结,涉资500万元。



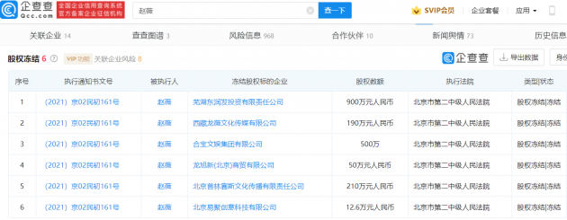
除此之外,今年4月起,赵薇名下还有多家公司股权被冻结:
4月28日,北京普林赛斯文化传播有限责任公司,赵薇持股比例达70%并担任监事职务,被冻结股权210万元人民币;
同日,北京易聚创意科技有限公司,赵薇持股比例达10%,被冻结股权12.6万元人民币。
龙旭新(北京)商贸有限公司,赵薇持股比例达100%,被冻结股权50万元人民币。
4月29日,西藏龙薇文化传媒有限公司,赵薇持股比例达95%,被冻结股权190万元人民币。
4月30日,芜湖东润发投资有限责任公司,赵薇持股比例达90%,被冻结股权900万元人民币。
企查查APP显示,目前赵薇关联企业共14家,其中在业存续状态企业共8家,吊注销企业6家。
1.TMT观察网遵循行业规范,任何转载的稿件都会明确标注作者和来源;
2.TMT观察网的原创文章,请转载时务必注明文章作者和"来源:TMT观察网",不尊重原创的行为TMT观察网或将追究责任;
3.作者投稿可能会经TMT观察网编辑修改或补充。
