奇瑞汽车申请注册ROBOBUS商标 奇瑞汽车申请注册ROBOTAXI商标观点
观察君
2025-04-17 13:55
导读
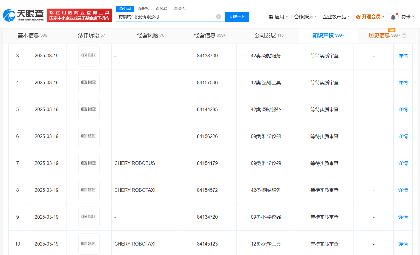
近日,奇瑞汽车股份有限公司申请注册“CHERY NEXT AI”“CHERY ROBOBUS”“CHERY ROBOTAXI”“CHERY EVTOL”商标,国际分类为网站服务、运输工具、科学仪器,当前商标状态均为等待实质审查。
天眼查知识产权信息显示,近日,奇瑞汽车股份有限公司申请注册“CHERY NEXT AI”“CHERY ROBOBUS”“CHERY ROBOTAXI”“CHERY EVTOL”商标,国际分类为网站服务、运输工具、科学仪器,当前商标状态均为等待实质审查。
据悉,奇瑞汽车拥有包括NEXT AI智能研究院、墨甲智创机器人等在内的智能化研究中心,覆盖Robotaxi、Robobus、人形机器人等研发体系。而在此前的奇瑞汽车智能化战略发布会上,该公司呈现了许多前沿的概念车,包括皮卡、墨甲机器人、飞行汽车、Robotaxi、无人i巴等。



奇瑞汽车
1.TMT观察网遵循行业规范,任何转载的稿件都会明确标注作者和来源;
2.TMT观察网的原创文章,请转载时务必注明文章作者和"来源:TMT观察网",不尊重原创的行为TMT观察网或将追究责任;
3.作者投稿可能会经TMT观察网编辑修改或补充。
