科大讯飞申请注册烟火大模型商标 科大讯飞申请注册多枚大模型商标观点
观察君
2025-01-17 16:46
导读
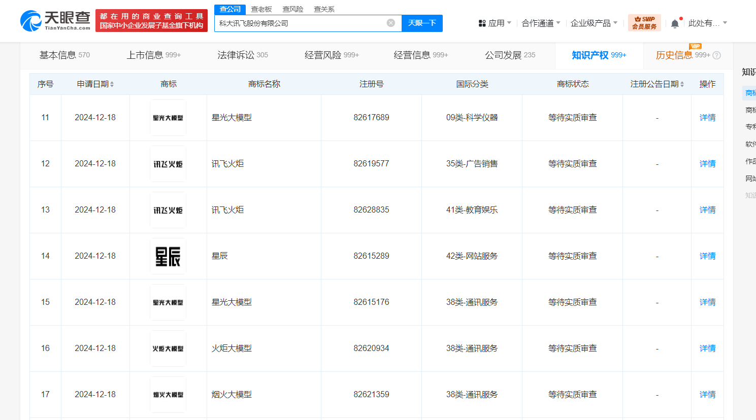
天眼查知识产权信息显示,近日,科大讯飞股份有限公司申请注册多枚“烟火大模型”“火炬大模型”“星光大模型”商标,国际分类为科学仪器、网站服务、教育娱乐等,当前商标状态均为等待实质审查。
天眼查知识产权信息显示,近日,科大讯飞股份有限公司申请注册多枚“烟火大模型”“火炬大模型”“星光大模型”商标,国际分类为科学仪器、网站服务、教育娱乐等,当前商标状态均为等待实质审查。
科大讯飞股份有限公司成立于1999年12月,法定代表人为刘庆峰,注册资本约23.1亿人民币,由中国移动通信有限公司、刘庆峰、中科大资产经营有限责任公司等共同持股。


科大讯飞
1.TMT观察网遵循行业规范,任何转载的稿件都会明确标注作者和来源;
2.TMT观察网的原创文章,请转载时务必注明文章作者和"来源:TMT观察网",不尊重原创的行为TMT观察网或将追究责任;
3.作者投稿可能会经TMT观察网编辑修改或补充。
