北汽集团已申请BAIC商标 北汽集团已申请北京汽车新标志商标观点
观察君
2024-09-24 16:01
导读
近日,北汽集团旗下北京汽车发布公告,称公司标志已变更,新标志改为BAIC的字母车标,其中B/A两个字母有特殊的设计,老款标志将不再使用。
据媒体报道,近日,北汽集团旗下北京汽车发布公告,称公司标志已变更,新标志改为BAIC的字母车标,其中B/A两个字母有特殊的设计,老款标志将不再使用。
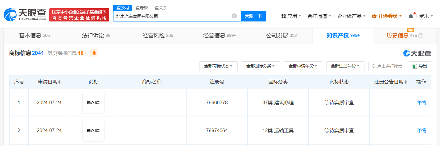
天眼查知识产权信息显示,北京汽车集团有限公司已于今年7月申请注册2枚“BAIC”图形商标,国际分类为运输工具、建筑修理,当前商标状态均为等待实质审查。



北汽集团
标志
1.TMT观察网遵循行业规范,任何转载的稿件都会明确标注作者和来源;
2.TMT观察网的原创文章,请转载时务必注明文章作者和"来源:TMT观察网",不尊重原创的行为TMT观察网或将追究责任;
3.作者投稿可能会经TMT观察网编辑修改或补充。
