白敬亭经纪人名下公司经营异常 白敬亭经纪人关联公司经营异常观点
观察君
2025-12-19 14:29
导读
天眼查经营风险信息显示,近日,北京乐本影视文化传媒有限公司因通过登记的住所或者经营场所无法联系,被北京市朝阳区市场监督管理局列入经营异常名录。
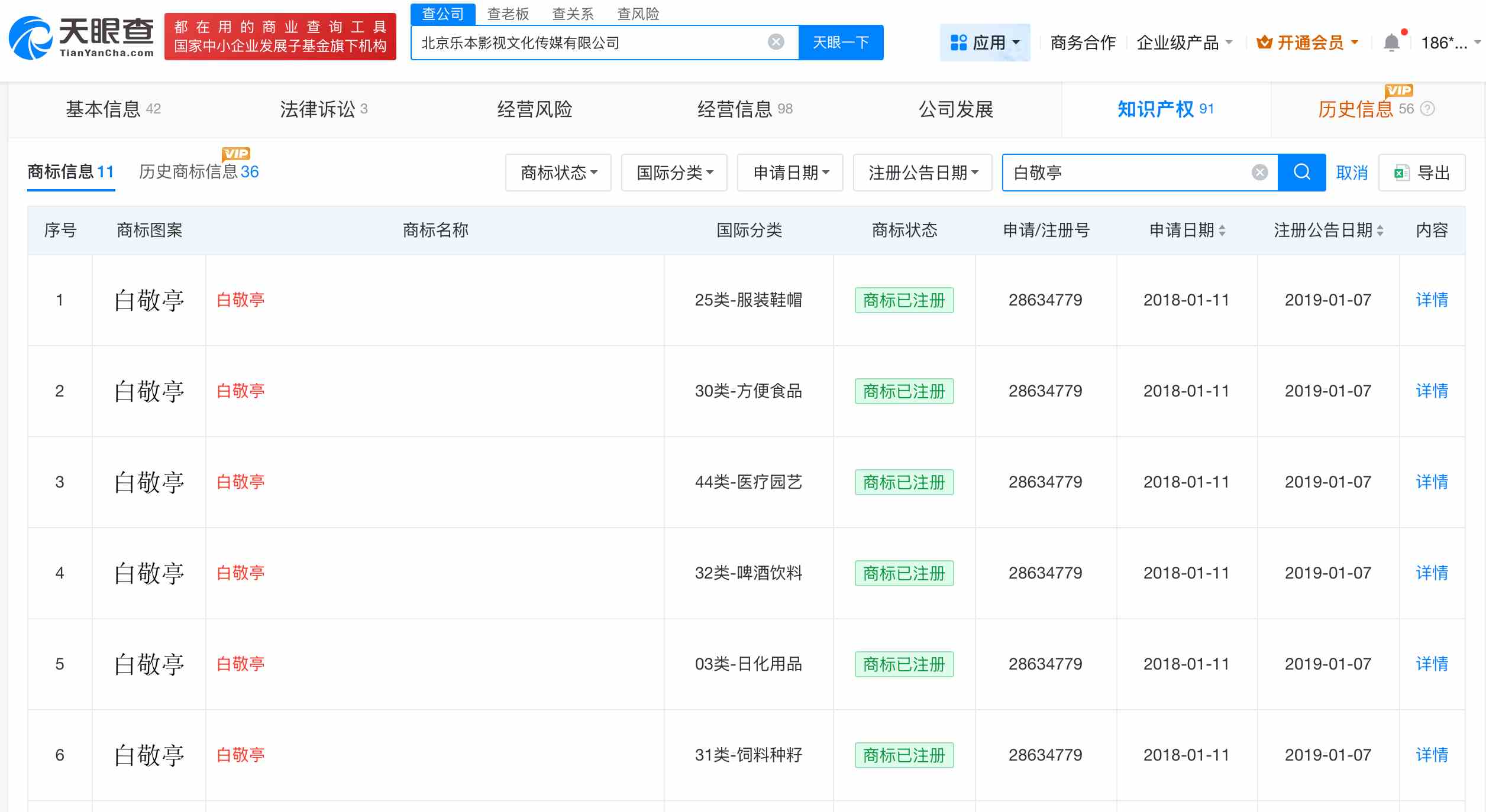
天眼查经营风险信息显示,近日,北京乐本影视文化传媒有限公司因通过登记的住所或者经营场所无法联系,被北京市朝阳区市场监督管理局列入经营异常名录。
该公司成立于2017年9月,法定代表人为苏家新,注册资本500万人民币,经营范围包括电影摄制、互联网信息服务、文艺表演等,由苏伟明全资持股。知识产权信息显示,该公司当前已注册多枚“白敬亭”等商标。公开信息显示,苏伟明为白敬亭经纪人。




白敬亭
1.TMT观察网遵循行业规范,任何转载的稿件都会明确标注作者和来源;
2.TMT观察网的原创文章,请转载时务必注明文章作者和"来源:TMT观察网",不尊重原创的行为TMT观察网或将追究责任;
3.作者投稿可能会经TMT观察网编辑修改或补充。
