多方曾抢注张雪峰商标 张雪峰公司已成功注册个人商标观点
观察君
2024-10-21 18:29
导读
10月21日,张雪峰发微博称:“我宁可成为中国知识产权界的一个标志性的反面案例,我也不会让抢注商标的坏人得逞,拿到一分钱!除非你承诺,把这个钱捐出去!”随后,张雪峰在微博评论区表示:“有抢注商标的人,抢注我的商标,找律师开价100万,让我买!”
10月21日,张雪峰发微博称:“我宁可成为中国知识产权界的一个标志性的反面案例,我也不会让抢注商标的坏人得逞,拿到一分钱!除非你承诺,把这个钱捐出去!”随后,张雪峰在微博评论区表示:“有抢注商标的人,抢注我的商标,找律师开价100万,让我买!”
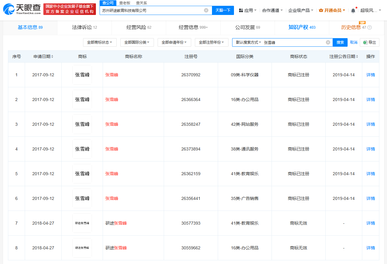
天眼查知识产权信息显示,张子彪(张雪峰)名下的苏州研途教育科技有限公司曾于2017年申请注册多枚“张雪峰”商标,国际分类涉及广告销售、教育娱乐、网站服务等,当前商标状态均为已注册。该公司还申请注册了两枚“研途张雪峰”商标,当前商标均处于无效状态。
此外,自然人张某某和北京某酒公司等曾申请注册“张雪峰”“张雪峰说得对”“张雪峰说得好”商标,国际分类涉及餐饮住宿、食品等,除自然人张某某申请的“张雪峰”商标已成功注册,其余申请多已被驳回。



张雪峰
商标
1.TMT观察网遵循行业规范,任何转载的稿件都会明确标注作者和来源;
2.TMT观察网的原创文章,请转载时务必注明文章作者和"来源:TMT观察网",不尊重原创的行为TMT观察网或将追究责任;
3.作者投稿可能会经TMT观察网编辑修改或补充。
