万达集团等被恢复执行4.1亿 王健林名下公司被恢复执行4.1亿观点
观察君
2026-03-02 11:33
导读
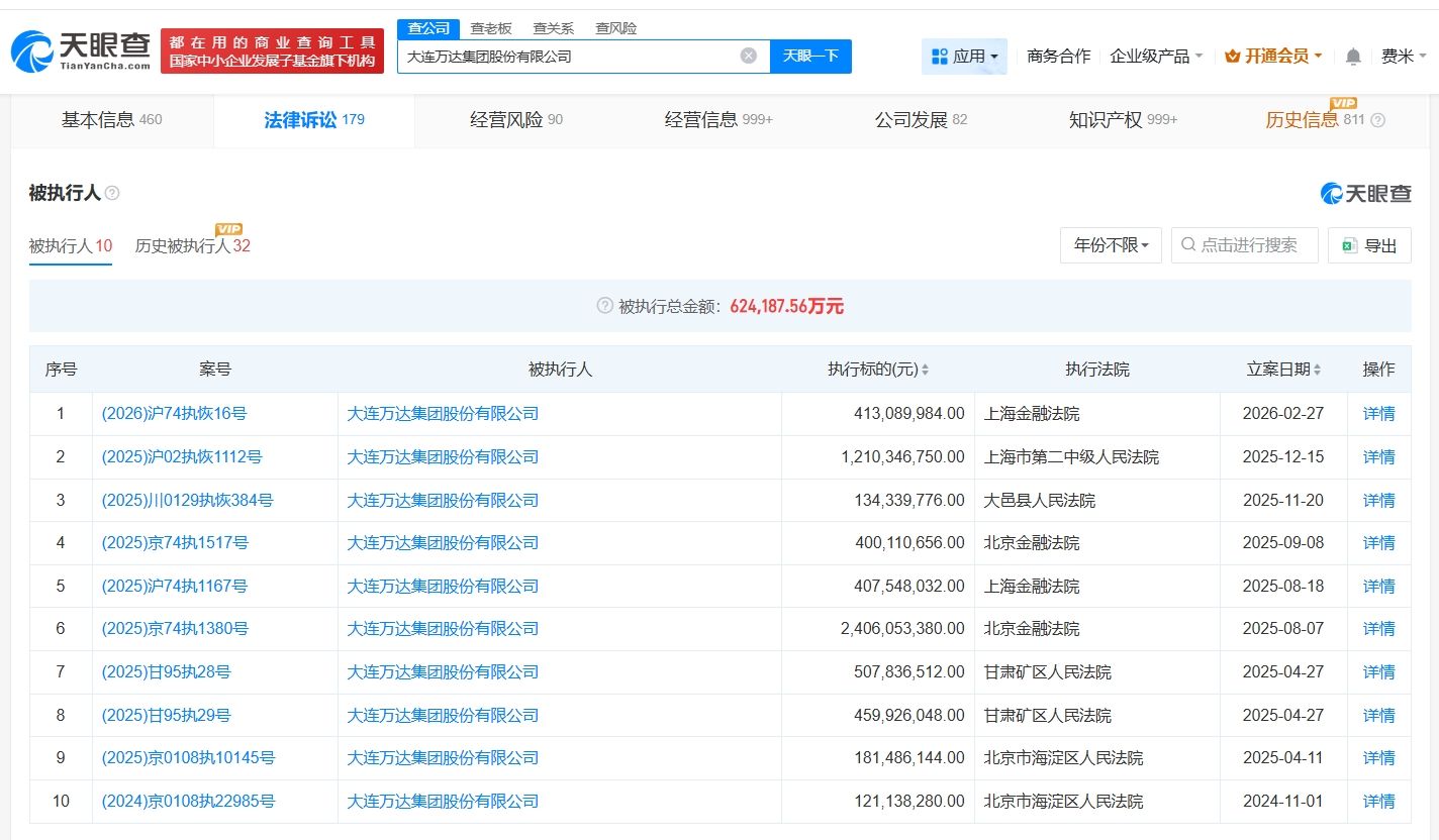
天眼查法律诉讼信息显示,近日,大连万达集团股份有限公司、万达地产集团有限公司等新增1条恢复执行信息,执行标的4.1亿余元,执行法院为上海金融法院。
天眼查法律诉讼信息显示,近日,大连万达集团股份有限公司、万达地产集团有限公司等新增1条恢复执行信息,执行标的4.1亿余元,执行法院为上海金融法院。
大连万达集团股份有限公司成立于1992年9月,法定代表人为王健林,注册资本10亿人民币,经营范围包括商业地产投资及经营、酒店建设投资及经营、连锁百货投资及经营、电影院线等文化产业投资及经营等。股东信息显示,该公司由大连合兴投资有限公司、王健林共同持股。天眼风险信息显示,该公司现存10条被执行人信息,被执行总金额超62亿元。



万达集团
1.TMT观察网遵循行业规范,任何转载的稿件都会明确标注作者和来源;
2.TMT观察网的原创文章,请转载时务必注明文章作者和"来源:TMT观察网",不尊重原创的行为TMT观察网或将追究责任;
3.作者投稿可能会经TMT观察网编辑修改或补充。
