王腾公司申请注册今日宜休商标 王腾申请注册今日宜休英文名商标观点
观察君
2026-04-23 22:51
导读
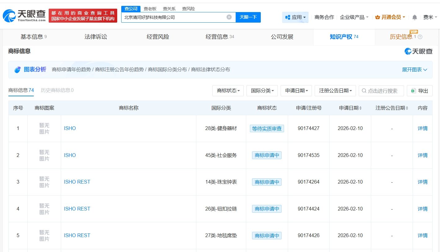
天眼查知识产权信息显示,近日,北京清河好梦科技有限公司申请注册多枚“ISHO”“ISHO REST”商标,国际分类涉及健身器材、社会服务、珠宝钟表等,当前商标状态均为等待实质审查。值得一提的是,今年1月,该公司申请注册多枚“今日宜休”商标,国际分类包括医疗园艺、社会服务、食品等,当前商标状态均为等待实质审查。
天眼查知识产权信息显示,近日,北京清河好梦科技有限公司申请注册多枚“ISHO”“ISHO REST”商标,国际分类涉及健身器材、社会服务、珠宝钟表等,当前商标状态均为等待实质审查。值得一提的是,今年1月,该公司申请注册多枚“今日宜休”商标,国际分类包括医疗园艺、社会服务、食品等,当前商标状态均为等待实质审查。
该公司成立于2025年12月,法定代表人为王腾,注册资本5万人民币,经营范围包括企业管理咨询、软件开发、信息技术咨询服务等,由王腾、秦牧云共同持股。




王腾公司
1.TMT观察网遵循行业规范,任何转载的稿件都会明确标注作者和来源;
2.TMT观察网的原创文章,请转载时务必注明文章作者和"来源:TMT观察网",不尊重原创的行为TMT观察网或将追究责任;
3.作者投稿可能会经TMT观察网编辑修改或补充。
