招商银行申请大模型商标 招商银行申请一招大模型商标观点
观察君
2024-12-11 12:13
导读
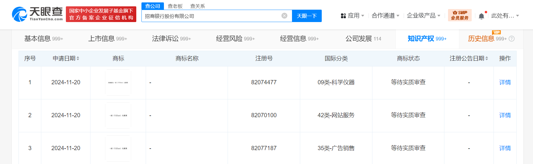
近日,招商银行股份有限公司申请注册“一招(YiZhao)大模型”“招商银行一招(YiZhao)大模型”商标,国际分类为广告销售、网站服务、科学仪器,当前商标状态均为等待实质审查。
天眼查知识产权信息显示,近日,招商银行股份有限公司申请注册“一招(YiZhao)大模型”“招商银行一招(YiZhao)大模型”商标,国际分类为广告销售、网站服务、科学仪器,当前商标状态均为等待实质审查。


招商银行
1.TMT观察网遵循行业规范,任何转载的稿件都会明确标注作者和来源;
2.TMT观察网的原创文章,请转载时务必注明文章作者和"来源:TMT观察网",不尊重原创的行为TMT观察网或将追究责任;
3.作者投稿可能会经TMT观察网编辑修改或补充。
