华策注册多枚田栩宁关联商标 经纪公司注册多枚田栩宁相关商标观点
观察君
2026-04-15 15:28
导读
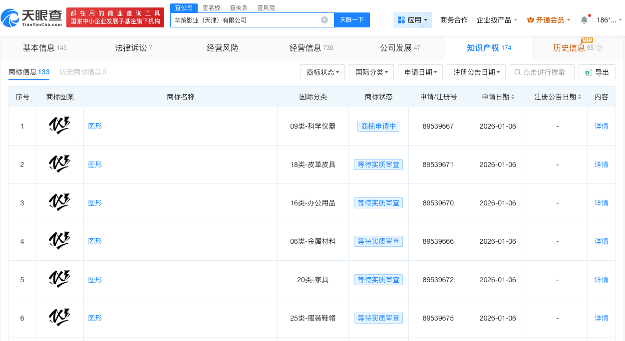
天眼查知识产权信息显示,近日,华策影业(天津)有限公司申请注册多枚“TXN”商标,国际分类涉及科学仪器、皮革皮具、办公用品等,当前商标状态均为等待实质审查。
天眼查知识产权信息显示,近日,华策影业(天津)有限公司申请注册多枚“TXN”商标,国际分类涉及科学仪器、皮革皮具、办公用品等,当前商标状态均为等待实质审查。
值得注意的是,“TXN”为田栩宁名字拼音首字母。


华策
1.TMT观察网遵循行业规范,任何转载的稿件都会明确标注作者和来源;
2.TMT观察网的原创文章,请转载时务必注明文章作者和"来源:TMT观察网",不尊重原创的行为TMT观察网或将追究责任;
3.作者投稿可能会经TMT观察网编辑修改或补充。
