RAZA V3复活!摩托罗拉公布全新设计专利快报
TechWeb.com.cn
2019-01-22 11:02
导读
此前TechWeb曾给大家带来过摩托罗拉准备复刻该系列的消息,该机型和此前的RAZA V3极其相似,新机展开屏幕后将会是一款大屏幕触屏手机。
【TechWeb】作为一代经典,MOTO的RAZA刀锋系列曾经收割粉丝无数,纤薄的机身和极具个性的V3也是街知巷闻。此前TechWeb曾给大家带来过摩托罗拉准备复刻该系列的消息,今天曝光的摩托罗拉全新专利显示,这款和“V3”相似的新机并不仅仅是概念。

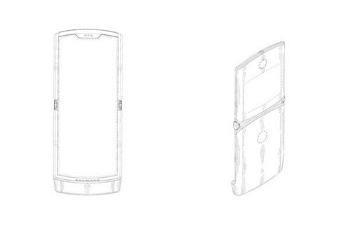
近日摩托罗拉的一项全新设计专利被世界知识产权局公布,该专利显示了摩托罗拉的一款全新机型,该机型和此前的RAZA V3极其相似,同样采用了折叠屏幕设计。不过和此前V3不同的是,新机展开屏幕后将会是一款大屏幕触屏手机。同时这款手机的外侧还配备了一个小屏幕,还配有指纹识别功能。

据悉,这款复刻版新机将会在MWC2019上正式亮相,其售价非常高昂,达到了1500美元,约合10183元人民币。看来“情怀”的售价还真不便宜。曾经喜欢V3的你,对这款新机抱有期待吗?
新机
摩托罗拉
此前
屏幕
曾经
1.TMT观察网遵循行业规范,任何转载的稿件都会明确标注作者和来源;
2.TMT观察网的原创文章,请转载时务必注明文章作者和"来源:TMT观察网",不尊重原创的行为TMT观察网或将追究责任;
3.作者投稿可能会经TMT观察网编辑修改或补充。
