李亚鹏超7000万股权被冻结快报
TechWeb.com.cn
2021-08-09 16:02
导读
丽江雪山投资有限责任公司新增一条股权冻结信息,企查查股权穿透显示,企查查信息显示。
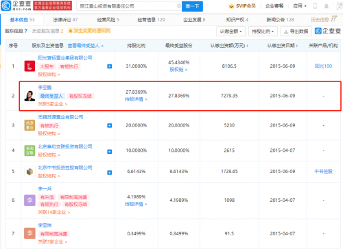
【TechWeb】企查查APP显示,近日,丽江雪山投资有限责任公司新增一条股权冻结信息,被执行人为李亚鹏,股权数额7279.35万元人民币,执行法院为北京朝阳区人民法院,执行通知文书号(2019)京0105民再53号之一。
企查查信息显示,丽江雪山投资有限责任公司成立于2008年,法定代表人为张晓山,注册资本约2.62亿元人民币,经营范围包含:对项目投资;房地产开发;文化产业投资。企查查股权穿透显示,李亚鹏为该公司第二大股东,持股比例约27.84%。



投资
查查
显示
股权
人民币
1.TMT观察网遵循行业规范,任何转载的稿件都会明确标注作者和来源;
2.TMT观察网的原创文章,请转载时务必注明文章作者和"来源:TMT观察网",不尊重原创的行为TMT观察网或将追究责任;
3.作者投稿可能会经TMT观察网编辑修改或补充。
