京东登记京东外卖logo作品著作权观点
观察君
2025-06-09 09:43
导读
天眼查知识产权信息显示,近日,上海京东到家元信信息技术有限公司登记“京东外卖logo”作品著作权,作品类别为美术。
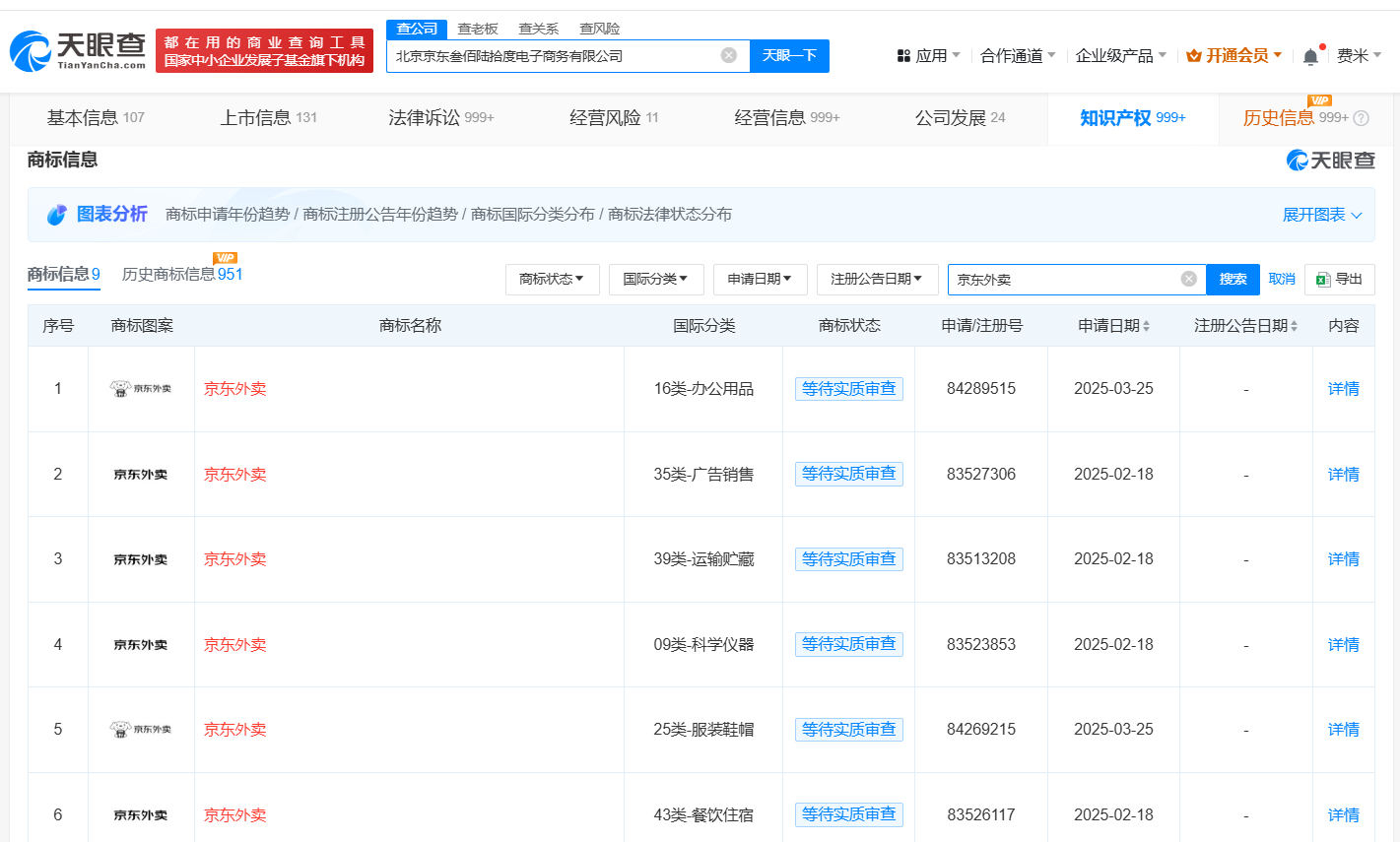
天眼查知识产权信息显示,近日,上海京东到家元信信息技术有限公司登记“京东外卖logo”作品著作权,作品类别为美术。此前,北京京东叁佰陆拾度电子商务有限公司已申请注册多枚“京东外卖”商标,国际分类包括办公用品、广告销售、运输贮藏等,当前商标状态均为等待实质审查。
上海京东到家元信信息技术有限公司成立于2015年10月,法定代表人为李昌明,注册资本7亿美元,经营范围包括第二类增值电信业务、货物进出口、技术进出口等,由达达集团(香港)有限公司全资持股。




京东
1.TMT观察网遵循行业规范,任何转载的稿件都会明确标注作者和来源;
2.TMT观察网的原创文章,请转载时务必注明文章作者和"来源:TMT观察网",不尊重原创的行为TMT观察网或将追究责任;
3.作者投稿可能会经TMT观察网编辑修改或补充。
