南派三叔曾持股公司已注册藏海花商标 藏海花已被多方注册商标观点
观察君
2024-08-26 21:53
导读
8月26日,由南派三叔担任总监制的探险题材网剧《藏海花》正式开播,多个相关话题登上热搜。
8月26日,由南派三叔担任总监制的探险题材网剧《藏海花》正式开播,多个相关话题登上热搜。
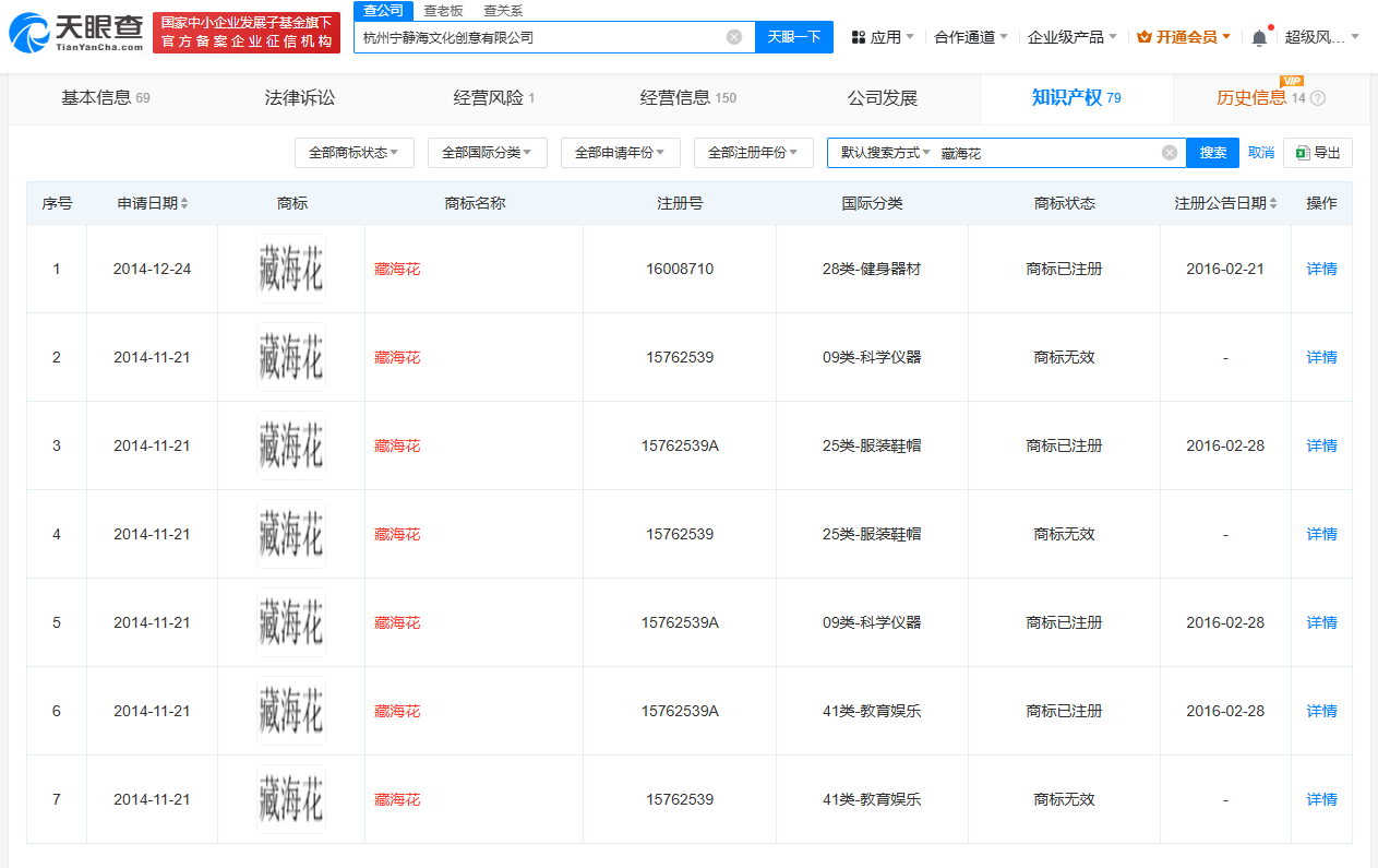
天眼查知识产权信息显示,“藏海花”已被多方申请注册为商标,申请人包括多家科技、文化创意、酒业公司及多位自然人,国际分类涉及家具、教育娱乐、方便食品等,当前商标状态多为已注册。
值得一提的是,杭州宁静海文化创意有限公司已成功注册多枚“藏海花”商标,该公司成立于2014年7月,注册资本100万人民币,法定代表人为赖想想,经营范围包括文化艺术活动组织策划等,由赖想想全资持股。变更记录显示,2017年6月,徐磊(南派三叔)卸任该公司法定代表人、执行董事兼总经理并退出股东行列,均由赖想想接任。



南派三叔
《藏海花》
1.TMT观察网遵循行业规范,任何转载的稿件都会明确标注作者和来源;
2.TMT观察网的原创文章,请转载时务必注明文章作者和"来源:TMT观察网",不尊重原创的行为TMT观察网或将追究责任;
3.作者投稿可能会经TMT观察网编辑修改或补充。
