猫耳涉多起侵权纠纷 猫耳已登记多部广播剧著作权观点
观察君
2025-09-25 16:05
导读
天眼查App显示,猫耳FM关联公司北京喵斯拉网络科技有限公司成立于2014年7月,法定代表人为郑彬炜,注册资本约186.4万人民币,经营范围包括从事互联网文化活动、广播电视节目制作、演出经纪、音像制品制作等,由上海幻电信息科技有限公司全资持股。
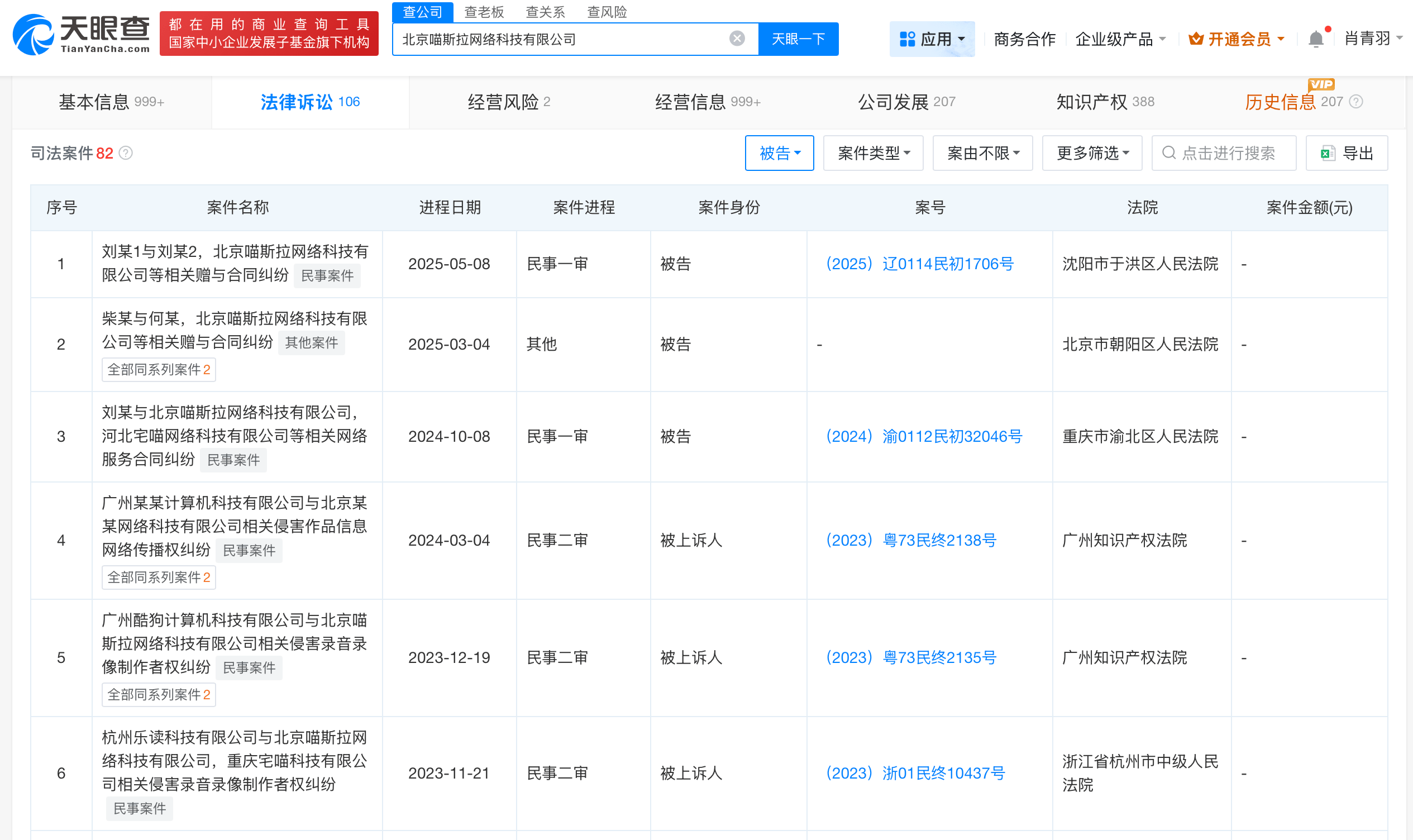
天眼查App显示,猫耳FM关联公司北京喵斯拉网络科技有限公司成立于2014年7月,法定代表人为郑彬炜,注册资本约186.4万人民币,经营范围包括从事互联网文化活动、广播电视节目制作、演出经纪、音像制品制作等,由上海幻电信息科技有限公司全资持股。风险信息显示,该公司涉及多起诉讼案件,案由包括侵害录音录像制作者权纠纷、侵害作品信息网络传播权及不正当竞争纠纷等。作品著作权信息显示,北京喵斯拉网络科技有限公司已登记《撒野》《魔道祖师》《伪装学渣》等作品著作权,作品类别涉及录音制品、录音。




猫耳
1.TMT观察网遵循行业规范,任何转载的稿件都会明确标注作者和来源;
2.TMT观察网的原创文章,请转载时务必注明文章作者和"来源:TMT观察网",不尊重原创的行为TMT观察网或将追究责任;
3.作者投稿可能会经TMT观察网编辑修改或补充。
