恒大汽车及恒大集团等被执行2.8亿观点
观察君
2025-04-01 10:39
导读
3月31日,恒大新能源汽车投资控股集团有限公司新增2条被执行人信息,执行标的合计2.8亿余元,涉及融资租赁合同纠纷案件,被执行人还包括恒大集团有限公司、恒大恒驰新能源汽车(上海)有限公司等,执行法院为广东省广州市中级人民法院。
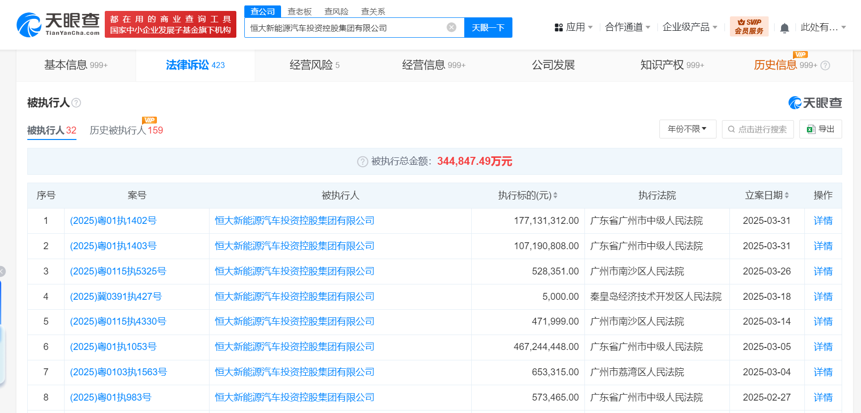
天眼查法律诉讼信息显示,3月31日,恒大新能源汽车投资控股集团有限公司新增2条被执行人信息,执行标的合计2.8亿余元,涉及融资租赁合同纠纷案件,被执行人还包括恒大集团有限公司、恒大恒驰新能源汽车(上海)有限公司等,执行法院为广东省广州市中级人民法院。
恒大新能源汽车投资控股集团有限公司成立于2019年1月,法定代表人为刘伟胜,注册资本35亿美元,经营范围为在国家允许外商投资的领域依法进行投资。股东信息显示,该公司由恒大新能源汽车控股(香港)有限公司、恒大恒驰新能源汽车(广东)有限公司共同持股。天眼风险信息显示,该公司现存30余条被执行人信息,被执行总金额超34亿余元,此外,该公司还存在多条限制消费令、失信被执行人(老赖)及终本案件信息。


恒大汽车
恒大集团
1.TMT观察网遵循行业规范,任何转载的稿件都会明确标注作者和来源;
2.TMT观察网的原创文章,请转载时务必注明文章作者和"来源:TMT观察网",不尊重原创的行为TMT观察网或将追究责任;
3.作者投稿可能会经TMT观察网编辑修改或补充。
