游族网络回应:新浪拟收购公司部分股份与事实不符快报
TechWeb.com.cn
2021-10-20 17:17
导读
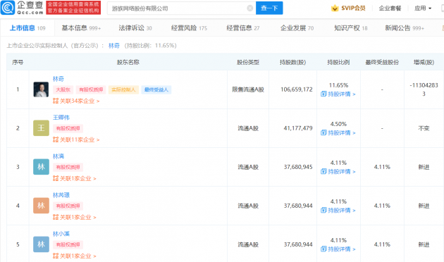
目前游族网络大股东仍为林奇,但许芬芬明确将会依照相关法律法规及监管规则进行股份转让,林小溪、林芮璟及林漓各持股4.11%。
【TechWeb】据证券时报·e公司,游族网络(002174)10月20日晚间回复深交所问询函称,媒体报道称“新浪拟收购公司部分股份,知情人士称已付定金”与事实不符。

公告称,原控股股东、实际控制人林奇先生的继承人(林小溪、林芮璟及林漓)的法定监护人 XUFENFEN(中文名:许芬芬)女士(以下简称“许芬芬”)正在筹划进行股权转让,有可能导致公司实际控制人变更,但由于事项重大且较为复杂,截至目前,仍未和意向方达成一致,亦未达成协议安排,不存在应披露未披露事项。
截至目前,股权转让事宜尚未形成具体方案,但许芬芬明确将会依照相关法律法规及监管规则进行股份转让。
企查查APP显示,游族网络是一家互动娱乐供应商,推出了《少年三国志》、《盗墓笔记》、《权力的游戏:凛冬将至》等多款知名游戏产品,于2014年6月正式登陆中国A股主板。目前游族网络大股东仍为林奇,持股比例11.65%,林小溪、林芮璟及林漓各持股4.11%。

网络
公司
转让
目前
许芬芬
1.TMT观察网遵循行业规范,任何转载的稿件都会明确标注作者和来源;
2.TMT观察网的原创文章,请转载时务必注明文章作者和"来源:TMT观察网",不尊重原创的行为TMT观察网或将追究责任;
3.作者投稿可能会经TMT观察网编辑修改或补充。
