字节跳动申请注册Seedance商标观点
观察君
2026-03-24 11:09
导读
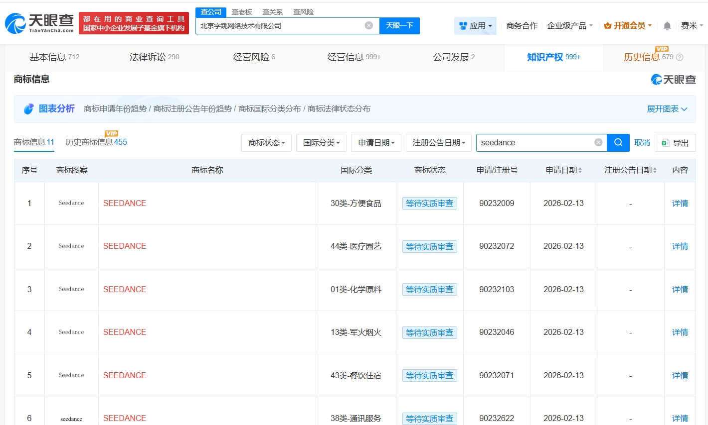
天眼查知识产权信息显示,近日,北京字跳网络技术有限公司申请注册多枚“SEEDANCE”商标,国际分类包括方便食品、医疗园艺、化学原料等,当前商标状态均为等待实质审查。
天眼查知识产权信息显示,近日,北京字跳网络技术有限公司申请注册多枚“SEEDANCE”商标,国际分类包括方便食品、医疗园艺、化学原料等,当前商标状态均为等待实质审查。
北京字跳网络技术有限公司成立于2018年10月,法定代表人为水恒熠,注册资本1亿美元,经营范围包括软件开发、会议服务、企业策划等,由抖音集团(香港)有限公司全资持股。
公开资料显示,Seedance 2.0是字节跳动推出的AI视频生成模型,可根据文本或图像创建电影级视频。今年2月,其开始小范围内测并在即梦平台上线。



字节跳动
1.TMT观察网遵循行业规范,任何转载的稿件都会明确标注作者和来源;
2.TMT观察网的原创文章,请转载时务必注明文章作者和"来源:TMT观察网",不尊重原创的行为TMT观察网或将追究责任;
3.作者投稿可能会经TMT观察网编辑修改或补充。
