华为引望申请5D蟹行商标 华为引望申请华尔兹掉头商标观点
观察君
2025-02-05 10:30
导读
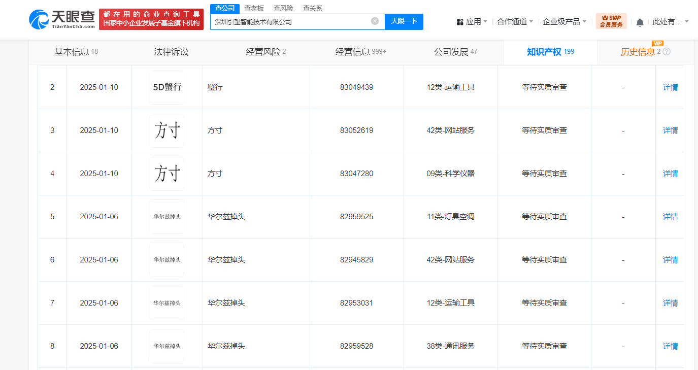
近日,深圳引望智能技术有限公司申请注册“5D蟹行”“华尔兹掉头”商标,国际分类为运输工具、网站服务、通讯服务等,当前商标状态均为等待实质审查。
天眼查知识产权信息显示,近日,深圳引望智能技术有限公司申请注册“5D蟹行”“华尔兹掉头”商标,国际分类为运输工具、网站服务、通讯服务等,当前商标状态均为等待实质审查。
该公司成立于2024年1月,法定代表人为郑丽英,注册资本10亿人民币,经营范围包括智能车载设备制造、智能车载设备销售、汽车零部件研发、汽车零部件及配件制造、人工智能理论与算法软件开发等,由华为技术有限公司全资持股。
据媒体报道,去年4月,华为发布了XMOTION 2.0车身运动系统控制,该系统包括华尔兹掉头功能、蟹行泊车等。


华为引望
1.TMT观察网遵循行业规范,任何转载的稿件都会明确标注作者和来源;
2.TMT观察网的原创文章,请转载时务必注明文章作者和"来源:TMT观察网",不尊重原创的行为TMT观察网或将追究责任;
3.作者投稿可能会经TMT观察网编辑修改或补充。
