云南省国有资本运营公司增资至199亿 增幅约12%观点
观察君
2026-02-24 20:38
导读
天眼查App显示,近日,云南省国有资本运营有限公司发生工商变更,注册资本由约177.6亿人民币增至约199.1亿人民币,增幅约12%。
天眼查App显示,近日,云南省国有资本运营有限公司发生工商变更,注册资本由约177.6亿人民币增至约199.1亿人民币,增幅约12%。
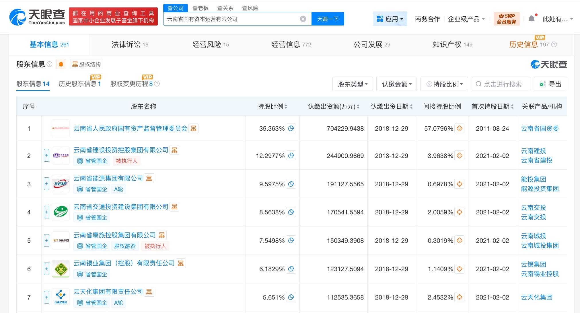
该公司成立于2011年8月,法定代表人为薛琳,经营范围为作为战略投资者或财务投资者进行股权投资和项目投资、股权投资和创业投资咨询业务、参与设立创业投资管理顾问机构、发起设立并管理基金的各项业务等。股东信息显示,该公司由云南省人民政府国有资产监督管理委员会、云南省建设投资控股集团有限公司、云南省能源集团有限公司共同持股。



云南省国有资本运营公司
1.TMT观察网遵循行业规范,任何转载的稿件都会明确标注作者和来源;
2.TMT观察网的原创文章,请转载时务必注明文章作者和"来源:TMT观察网",不尊重原创的行为TMT观察网或将追究责任;
3.作者投稿可能会经TMT观察网编辑修改或补充。
