男孩术后脑死亡医院今年刚被处罚 男孩术后脑死亡医院曾涉多起医疗纠纷观点
观察君
2025-07-11 15:29
导读
据媒体报道,7月10日,广东湛江三岁男童扁桃体手术后脑死亡,医院称术前已告知家属风险。7月10日晚,男童母亲李女士账号发文称:“医院拖了十几天都没有一个说法。”
据媒体报道,7月10日,广东湛江三岁男童扁桃体手术后脑死亡,医院称术前已告知家属风险。7月10日晚,男童母亲李女士账号发文称:“医院拖了十几天都没有一个说法。”
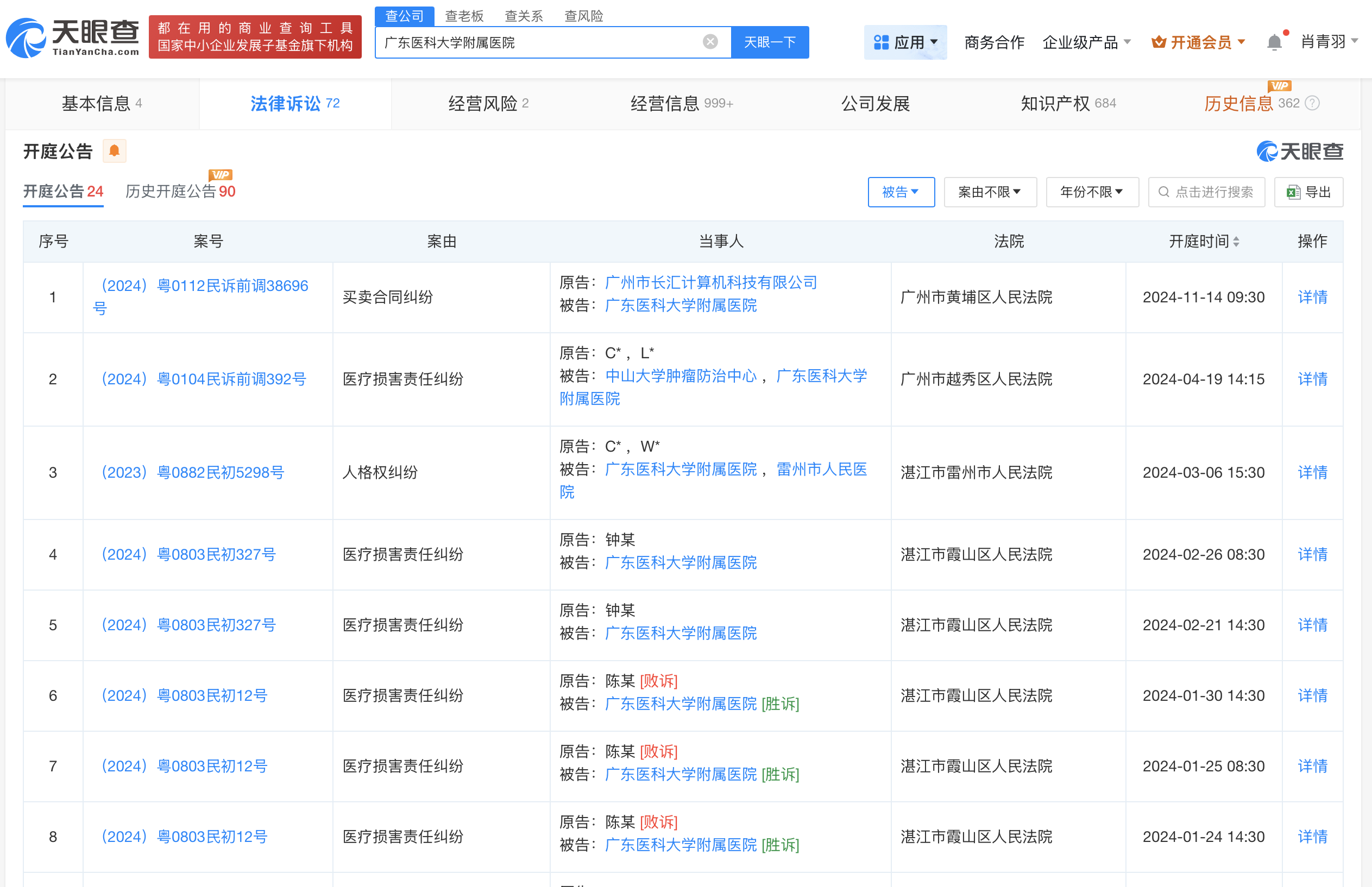
天眼查App显示,涉事的广东医科大学附属医院法定代表人为刘华锋,开办资金约8.73亿元,宗旨和业务范围为从事医疗、预防、教研;负责西医、中医医疗。天眼风险信息显示,今年4月,该医院因重复收费、超标准收费、过度检查、过度治疗、虚记费用、欺诈骗保等违反《医疗保障基金使用监督管理条例》的行为,被湛江市医疗保障局罚款293.84万余元。此外,该医院还曾涉及多起医疗损害责任纠纷、医疗服务合同纠纷等案件。



医疗纠纷
1.TMT观察网遵循行业规范,任何转载的稿件都会明确标注作者和来源;
2.TMT观察网的原创文章,请转载时务必注明文章作者和"来源:TMT观察网",不尊重原创的行为TMT观察网或将追究责任;
3.作者投稿可能会经TMT观察网编辑修改或补充。
