碧桂园地产所持10亿股权被冻结观点
观察君
2025-05-26 11:53
导读
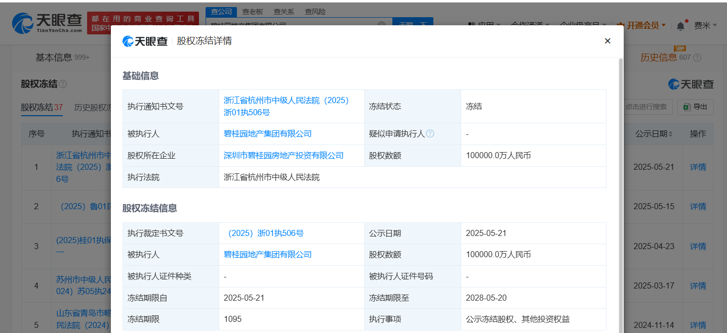
近日,碧桂园地产集团有限公司新增一则股权冻结信息,股权所在企业为深圳市碧桂园房地产投资有限公司,冻结股权数额10亿人民币,冻结期限自2025年5月21日至2028年5月20日,执行法院为浙江省杭州市中级人民法院。
天眼查深度风险信息显示,近日,碧桂园地产集团有限公司新增一则股权冻结信息,股权所在企业为深圳市碧桂园房地产投资有限公司,冻结股权数额10亿人民币,冻结期限自2025年5月21日至2028年5月20日,执行法院为浙江省杭州市中级人民法院。
深圳市碧桂园房地产投资有限公司成立于2015年8月,法定代表人为王富学,注册资本约11.1亿人民币,经营范围包括房地产信息咨询、自有物业租赁、投资管理等,由碧桂园地产集团有限公司、增城市碧桂园物业发展有限公司共同持股。



碧桂园地产
1.TMT观察网遵循行业规范,任何转载的稿件都会明确标注作者和来源;
2.TMT观察网的原创文章,请转载时务必注明文章作者和"来源:TMT观察网",不尊重原创的行为TMT观察网或将追究责任;
3.作者投稿可能会经TMT观察网编辑修改或补充。
