恒大地产集团等被恢复执行38.9亿观点
观察君
2025-09-23 17:33
导读
天眼查App显示,近日,恒大地产集团有限公司、恒大地产集团(深圳)有限公司、珠海经济特区恒隆房产开发有限公司等新增一则恢复执行信息,执行标的38.9亿余元,执行法院为广东省深圳市中级人民法院。
天眼查App显示,近日,恒大地产集团有限公司、恒大地产集团(深圳)有限公司、珠海经济特区恒隆房产开发有限公司等新增一则恢复执行信息,执行标的38.9亿余元,执行法院为广东省深圳市中级人民法院。
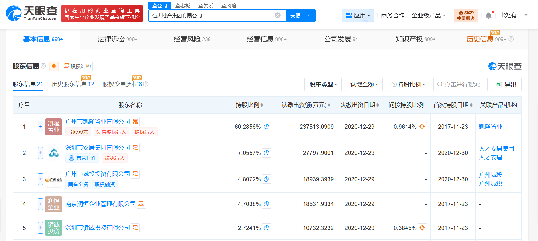
恒大地产集团有限公司成立于1996年6月,法定代表人为赵长龙,注册资本约39.4亿人民币,由广州市凯隆置业有限公司、深圳市安居集团有限公司、广州市城投投资有限公司等共同持股。风险信息显示,该公司现存500余条被执行人信息,被执行总金额超615亿元,此外,该公司还存在多条限制消费令、失信被执行人(老赖)及终本案件信息。



恒大地产集团
1.TMT观察网遵循行业规范,任何转载的稿件都会明确标注作者和来源;
2.TMT观察网的原创文章,请转载时务必注明文章作者和"来源:TMT观察网",不尊重原创的行为TMT观察网或将追究责任;
3.作者投稿可能会经TMT观察网编辑修改或补充。
