观致汽车及其股东等被强执6.6亿 观致汽车等被强制执行6.6亿观点
观察君
2024-09-03 13:04
导读
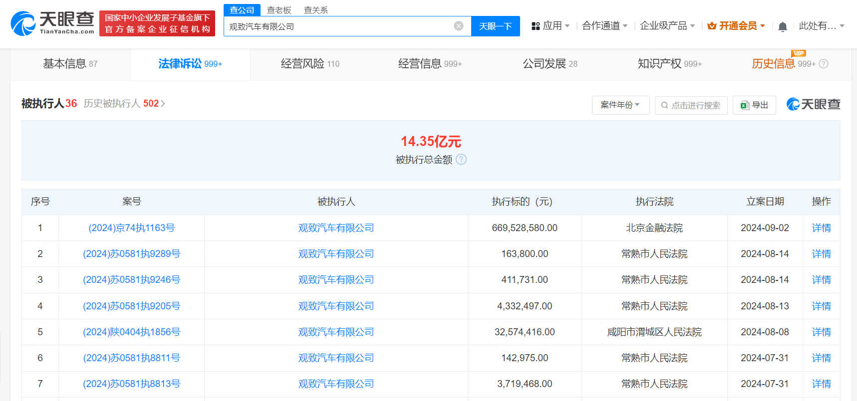
近日,观致汽车有限公司、深圳市宝能投资集团有限公司、芜湖奇瑞汽车投资有限公司、杭州诚茂投资有限公司等新增一条被执行人信息,执行标的6.69亿余元,执行法院为北京金融法院。
天眼查法律诉讼信息显示,近日,观致汽车有限公司、深圳市宝能投资集团有限公司、芜湖奇瑞汽车投资有限公司、杭州诚茂投资有限公司等新增一条被执行人信息,执行标的6.69亿余元,执行法院为北京金融法院。
观致汽车有限公司成立于2007年12月,法定代表人为何华,注册资本约169.25亿人民币,由杭州诚茂投资有限公司、芜湖奇瑞汽车投资有限公司、QUANTUM(2007)LLC共同持股。天眼风险信息显示,该公司现存36条被执行人信息,被执行总金额超14亿元。此外,该公司还存在多条限制消费令、失信被执行人(老赖)及终本案件信息。


观致汽车
6.6亿
1.TMT观察网遵循行业规范,任何转载的稿件都会明确标注作者和来源;
2.TMT观察网的原创文章,请转载时务必注明文章作者和"来源:TMT观察网",不尊重原创的行为TMT观察网或将追究责任;
3.作者投稿可能会经TMT观察网编辑修改或补充。
