微软Surface Pro 8新特性曝光:堪比组合音响的“支架”外放快报
IT之家
2019-11-01 17:22
导读
微软认为Surface的支架可以装上合适的扬声器,微软正在寻求提高Surface平板电脑中扬声器的声音质量,微软Surface Pro 7刚刚在10月初发布。
微软Surface Pro 7刚刚在10月初发布,升级到了英特尔第十代酷睿处理器,增加了USB-C接口,即将上市开售。但关于下一代Surface Pro 8的新特性开始曝光。

根据最近发布的专利,微软正在寻求提高Surface平板电脑中扬声器的声音质量。
微软指出,轻薄型设备的扬声器空间有限,其质量尚有许多不足之处。

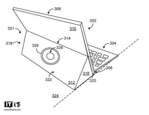
在近期发布但最早于2018年4月30日提交的专利中,微软认为Surface的支架可以装上合适的扬声器。将扬声器放置在此处的另一个优点是,支架和Surface之间的空间可以充当共鸣箱,增强低音。

为了改进此元素,微软设想使用某种挡板来封闭空间两端的部分,并在支架的末端使用橡胶或类似材料来确保与桌子的良好密封。
此外,微软还有意将移动电话中的微型扬声器安装在支架挡板上,因为其体积小。微软指出,主扬声器可能是传统带有磁铁的扬声器,也可能是压电扬声器,因此更加轻薄。

微软还指出PC可以追踪支架的位置(打开或关闭)信息,并调整PC发送给扬声器的声音特征。
微软的这一专利功能看起来雄心勃勃,最快将在Surface Pro 8上实现。
微软
扬声器
Surface
支架
空间
1.TMT观察网遵循行业规范,任何转载的稿件都会明确标注作者和来源;
2.TMT观察网的原创文章,请转载时务必注明文章作者和"来源:TMT观察网",不尊重原创的行为TMT观察网或将追究责任;
3.作者投稿可能会经TMT观察网编辑修改或补充。
