游族影业50万股权被冻结,其股东含刘慈欣、林奇等快报
TechWeb.com.cn
2021-08-11 17:22
导读
游族影业关联公司上海游族文化传媒有限公司新增股权冻结信息,其股东包括上海奇歆咏岩投资有限公司、林奇、孔祥照、刘慈欣等,企查查信息显示。
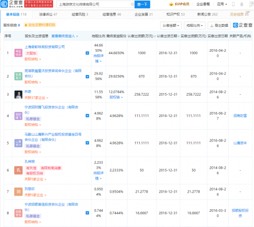
【TechWeb】企查查APP显示,近日,游族影业关联公司上海游族文化传媒有限公司新增股权冻结信息,执行法院为北京市海淀区人民法院,被执行人为孔祥照,股权数额为50万人民币,冻结期限至2024年8月5日。
企查查信息显示,该公司成立于2014年,法定代表人为林奇,注册资本2238.89万元人民币,经营范围包含:文化艺术交流策划,广播电视节目制作、发行等,其股东包括上海奇歆咏岩投资有限公司、林奇、孔祥照、刘慈欣等。



文化
人民币
上海
公司
信息
1.TMT观察网遵循行业规范,任何转载的稿件都会明确标注作者和来源;
2.TMT观察网的原创文章,请转载时务必注明文章作者和"来源:TMT观察网",不尊重原创的行为TMT观察网或将追究责任;
3.作者投稿可能会经TMT观察网编辑修改或补充。
